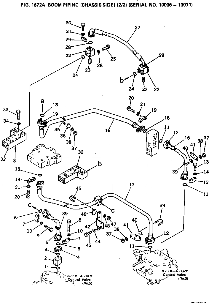
Запчасти Komatsu PC650-1 ТРУБЫ СТРЕЛЫ (ШАССИ) (/)(№-7) УПРАВЛ-Е РАБОЧИМ ОБОРУДОВАНИЕМ

Схема запчастей Komatsu PC650-1 - ТРУБЫ СТРЕЛЫ (ШАССИ) (/)(№-7) УПРАВЛ-Е РАБОЧИМ ОБОРУДОВАНИЕМ
FIT
1:1
100%

Артикул

Название

Примечание

Количество

1

07000-13032

O-RING

2

205-60-51200

VALVE ASS'Y

3

07000-13035

O-RING

4

209-62-31280

FLANGE

5

209-62-32360

TUBE

6

07000-13032

O-RING

7

07371-31049

FLANGE

8

205-62-51310

BOLT

9

07372-21035

BOLT

10

01643-51032

WASHER

11

07000-13032

O-RING

12

07371-31049

FLANGE

13

07372-21035

BOLT

14

01643-51032

WASHER

15

209-62-32331

TUBE

16

209-62-32321

TUBE

17

209-62-32170

TUBE

18

07000-13038

O-RING

19

07371-51260

FLANGE

20

01010-51245

BOLT

21

01643-31232

WASHER

22

209-62-34110

BLOCK

23

07042-30108

PLUG

24

07000-13035

O-RING

25

01010-51070

BOLT

26

01643-31032

WASHER

27

209-62-32810

HOSE

28

07000-13025

O-RING

29

07371-30638

FLANGE

30

01010-50830

BOLT

31

01643-50823

WASHER

32

209-62-31130

BLOCK

33

01010-51295

BOLT

34

01643-31232

WASHER

35

07283-34354

CLIP

36

07283-54353

SEAT

37

01599-01011

NUT

38

01643-31032

WASHER

39

07283-33450

CLIP

40

07283-53444

SEAT

41

209-62-32690

PLATE

42

209-62-37580

BRACKET

43

01010-51250

BOLT

44

01643-31232

WASHER

45

07283-34354

CLIP

46

07283-54353

SEAT

47

01599-01011

NUT

48

01643-31032

WASHER

Выбрано товаров: 48