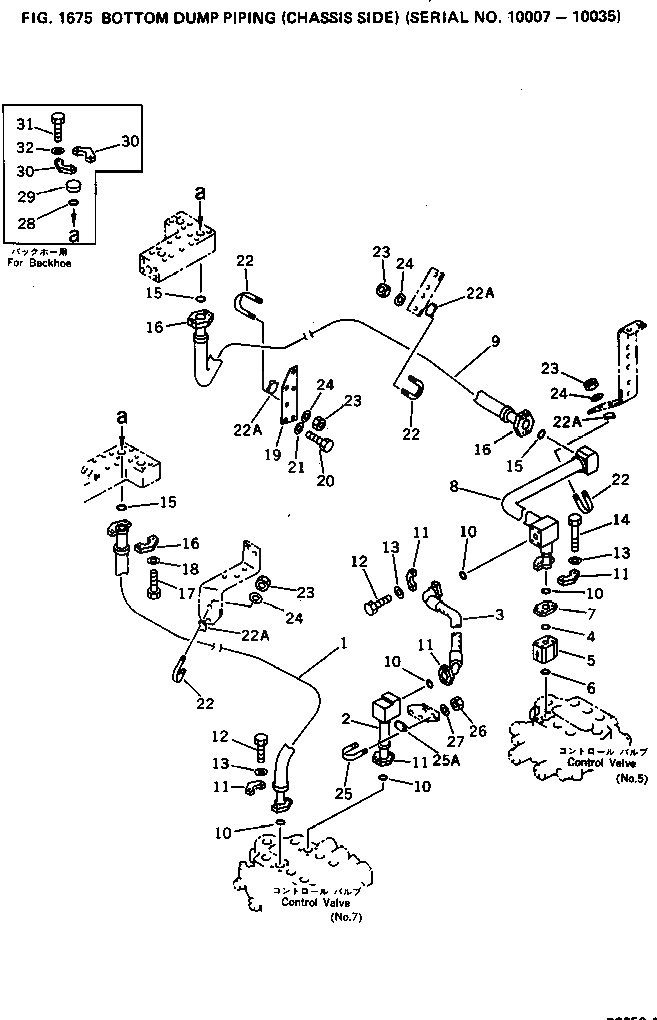
Запчасти Komatsu PC650-1 НИЖН. РАЗГРУЗКА ТРУБЫ (ШАССИ)(№7-) УПРАВЛ-Е РАБОЧИМ ОБОРУДОВАНИЕМ

Схема запчастей Komatsu PC650-1 - НИЖН. РАЗГРУЗКА ТРУБЫ (ШАССИ)(№7-) УПРАВЛ-Е РАБОЧИМ ОБОРУДОВАНИЕМ
FIT
1:1
100%

Артикул

Название

Примечание

Количество

1

209-62-32250

TUBE

2

209-62-32280

TUBE

3

209-62-31340

HOSE

4

07000-13035

O-RING

5

205-60-51200

VALVE ASS'Y,CHECK

6

07000-13032

O-RING

7

209-62-31280

FLANGE

8

209-62-32270

TUBE

9

209-62-32260

TUBE

10

07000-13032

O-RING

11

07371-31049

FLANGE

12

07372-21035

BOLT

13

01643-51032

WASHER

14

205-62-51310

BOLT

15

07000-13038

O-RING

16

07371-51260

FLANGE

17

01010-51245

BOLT

18

01643-31232

WASHER

19

209-62-32741

PLATE

19

209-62-32740

PLATE

20

01010-51230

BOLT

21

01643-31232

WASHER

22

07283-34354

CLIP

22A

07283-54353

SEAT

23

01599-01011

NUT

24

01643-31032

WASHER

25

07283-33450

CLIP

25A

07283-53444

SEAT

26

01599-01011

NUT

27

01643-31032

WASHER

28

07000-13038

O-RING,(FOR BACKHOE)

29

21T-62-16490

HEAD,(FOR BACKHOE)

30

07371-51260

FLANGE,(FOR BACKHOE)

31

01010-51245

BOLT,(FOR BACKHOE)

32

01643-31232

WASHER,(FOR BACKHOE)

Выбрано товаров: 35