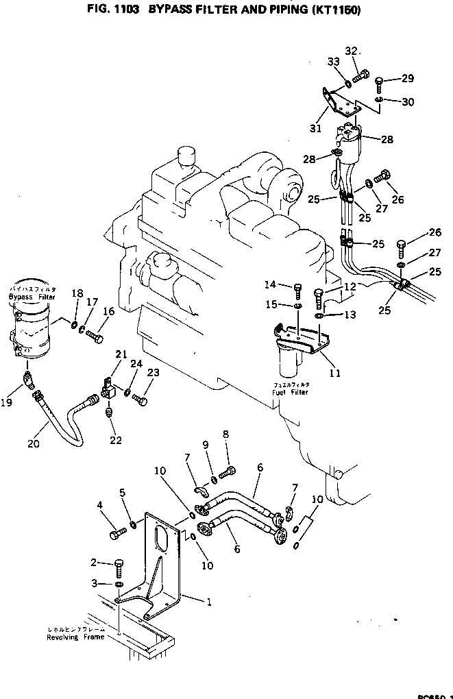
Запчасти Komatsu PC650-1 ПРОХОДНОЙ ФИЛЬТР И ТРУБЫ (KT) КОМПОНЕНТЫ ДВИГАТЕЛЯ И ЭЛЕКТРИКА

Схема запчастей Komatsu PC650-1 - ПРОХОДНОЙ ФИЛЬТР И ТРУБЫ (KT) КОМПОНЕНТЫ ДВИГАТЕЛЯ И ЭЛЕКТРИКА
FIT
1:1
100%

Артикул

Название

Примечание

Количество

1

209-01-12551

BRACKET

2

01010-51230

BOLT

3

01643-31232

WASHER

4

01010-51035

BOLT

5

01643-31032

WASHER

6

07118-01207

HOSE

7

07371-31255

FLANGE

8

07372-21035

BOLT

9

01643-31032

WASHER

10

07000-03038

O-RING

11

21T-01-12610

BRACKET

12

01010-51230

BOLT

13

01643-31232

WASHER

14

02010-70625

BOLT

15

01602-20929

WASHER,SPRING

16

01010-50825

BOLT

17

01602-20825

WASHER,SPRING

18

01643-30823

WASHER

19

6691-51-9951

ELBOW

20

07102-20410

HOSE

21

209-01-12580

ELBOW

22

07042-20312

PLUG

23

01010-51225

BOLT

24

01643-31232

WASHER

25

6631-61-8550

CLIP

26

01010-51220

BOLT

27

01643-31232

WASHER

28

07281-00197

CLAMP

29

02010-70625

BOLT

30

01602-20929

WASHER,SPRING

31

209-01-12571

BRACKET

32

01010-51225

BOLT

33

01643-31232

WASHER

Выбрано товаров: 33