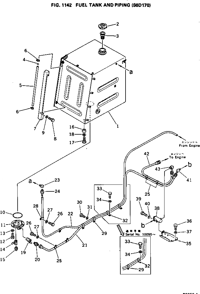
Запчасти Komatsu PC650-1 ТОПЛ. БАК И ТОПЛИВОПРОВОД (SD7)(№-) КОМПОНЕНТЫ ДВИГАТЕЛЯ И ЭЛЕКТРИКА

Схема запчастей Komatsu PC650-1 - ТОПЛ. БАК И ТОПЛИВОПРОВОД (SD7)(№-) КОМПОНЕНТЫ ДВИГАТЕЛЯ И ЭЛЕКТРИКА
FIT
1:1
100%

Артикул

Название

Примечание

Количество

|$0

209-04-00010

FUEL TANK ASS'Y

1

TANK

2

07050-21200

CAP

3

07056-18416

STRAINER

4

201-04-21160

BALL

5

209-04-11240

TUBE

6

07281-10197

CLAMP

7

209-04-11250

COVER

8

01010-51225

BOLT

9

01643-31232

WASHER

10

07000-05170

O-RING

11

209-04-11120

FLANGE

12

01010-51235

BOLT

13

01643-31232

WASHER

14

07700-40460

VALVE

15

154-04-12480

NIPPLE

16

21T-01-11130

WASHER

17

01010-52065

BOLT

18

01643-32060

WASHER

19

07700-40460

VALVE

20

10E-60-16360

NIPPLE

21

07102-20450

HOSE

21

07102-20454

HOSE

22

209-04-11181

TUBE

23

209-04-13130

ELBOW

24

07209-01040

NIPPLE

25

140-06-18440

CLIP

26

01010-51220

BOLT

27

01643-31232

WASHER

28

21T-62-25740

CLIP

29

209-04-12110

CLIP

29

209-04-12110

CLIP

30

01010-51220

BOLT

30

01010-51220

BOLT

31

01643-31232

WASHER

31

01643-31232

WASHER

32

209-04-12120

CLIP

32

209-04-12120

CLIP

33

01010-51225

BOLT

33

01010-51225

BOLT

34

01643-31232

WASHER

34

01643-31232

WASHER

35

21T-01-12610

BRACKET

36

01010-51230

BOLT

37

01643-31232

WASHER

38

07058-00000

STRAINER ASS'Y

39

01010-50825

BOLT

40

01602-20825

WASHER,SPRING

41

483-60-31530

ELBOW

42

07102-20415

HOSE

43

195-04-12280

ELBOW

Выбрано товаров: 51