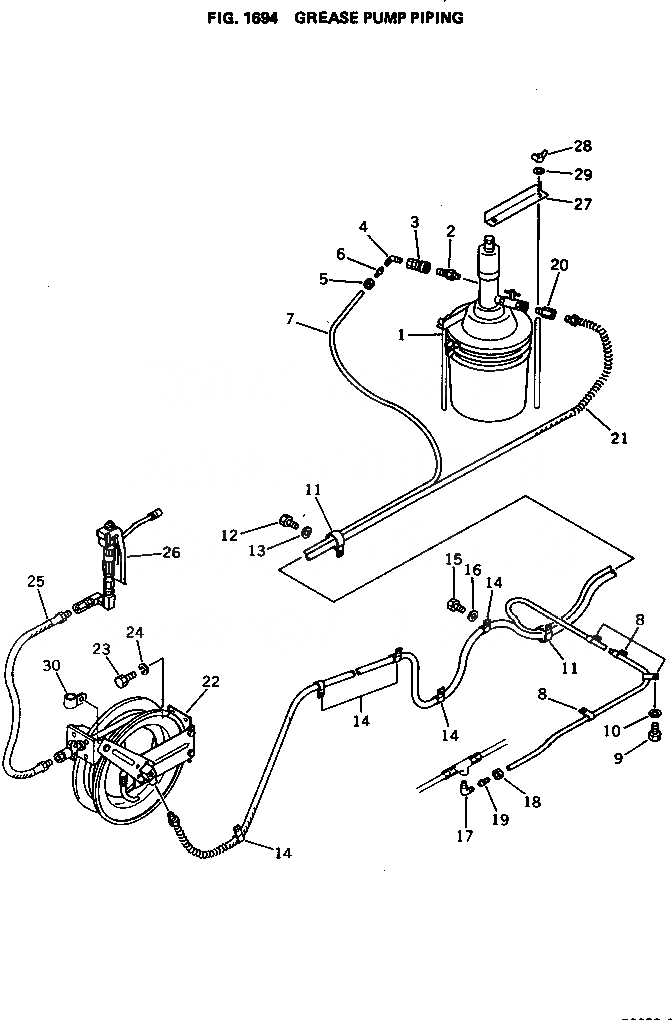
Запчасти Komatsu PC650-1 НАСОС СМАЗКИ ТРУБЫ УПРАВЛ-Е РАБОЧИМ ОБОРУДОВАНИЕМ

Схема запчастей Komatsu PC650-1 - НАСОС СМАЗКИ ТРУБЫ УПРАВЛ-Е РАБОЧИМ ОБОРУДОВАНИЕМ
FIT
1:1
100%

Артикул

Название

Примечание

Количество

1

209-68-11201

GREASE PUMP ASS'Y

2

07881-10500

PLUG,COUPLING

3

07880-20500

SOCKET,COUPLING

4

07834-00613

ELBOW

5

07832-00614

NUT

6

07831-00612

SLEEVE

7

07822-00650

TUBE

8

195-03-11690

CLIP

9

01010-51220

BOLT

10

01643-31232

WASHER

11

08036-03014

CLIP

12

01010-51220

BOLT

13

01643-31232

WASHER

14

08036-02514

CLIP

15

01010-51220

BOLT

16

01643-31232

WASHER

17

07834-00617

ELBOW

18

07832-00614

NUT

19

07831-00612

SLEEVE

20

20S-01-11210

NIPPLE

21

209-68-11380

HOSE

22

209-68-11390

GREASE REEL ASS'Y

23

01010-51020

BOLT

24

01602-21030

WASHER

25

209-68-11242

HOSE

26

209-68-11230

GREASE GUN ASS'Y

27

209-68-11410

PLATE

28

01540-20840

NUT

29

01643-30823

WASHER

30

08035-02510

CLIP

Выбрано товаров: 30