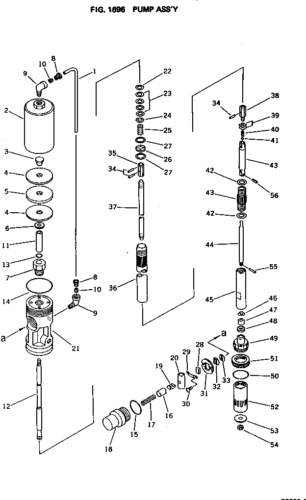
Запчасти Komatsu PC650-1 НАСОС В СБОРЕ УПРАВЛ-Е РАБОЧИМ ОБОРУДОВАНИЕМ

Схема запчастей Komatsu PC650-1 - НАСОС В СБОРЕ УПРАВЛ-Е РАБОЧИМ ОБОРУДОВАНИЕМ
FIT
1:1
100%

Артикул

Название

Примечание

Количество

|$0

209-68-11211

PUMP ASS'Y

1

YU708523-4

PIPE

2

YU708311-4

BONNET

3

YU701811-4

NUT

4

YU701815-4

WASHER

5

YU770180-4

PACKING

6

YU701810-4

WASHER

7

YU706066-4

HOUSING,GLAND

8

YU701766-4

GLAND,TUBE

9

YU701768-4

ELBOW

10

YU701765-4

SLEEVE

11

YU706067-4

BUSHING

12

YU706068-4

SPINDLE

13

YU640012-0

O-RING

14

YU770182-4

O-RING

15

YU640132-0

O-RING

16

YU704893-4

PISTON

17

YU701825-4

SPRING

18

YU770563-4

CAP

19

YU705661-4

ARM

20

YU705659-4

BUSHING

21

YU706069-3

BODY

22

YU702725-4

WASHER

23

YU770287-4

PACKING

24

YU702726-4

HOLDER

25

YU702727-4

SPRING

26

YU702734-4

SEAT

27

YU702582-4

WASHER

28

YU701823-4

BLOCK

29

YU701816-4

HOLDER

30

YU681768-4

SCREW

31

YU701818-4

PLATE,GUIDE

32

YU701822-4

SEAT

33

YU770181-4

PACKING

34

YU702971-4

PIN

35

YU706091-4

UNION

36

YU708322-4

TUBE

37

YU708321-4

ROD

38

YU702975-4

UNION

39

YU702979-4

WASHER

40

YU702976-4

SPRING

41

YU630313-0

BALL

42

YU702977-4

WASHER

43

YU801051-4

CYLINDER ASS'Y

44

YU706399-4

ROD,PLUNGER

45

YU706072-4

TUBE,FOOT

46

YU702980-4

PLATE

47

YU702981-4

VALVE,FOOT

48

YU702982-4

SEAT,VALVE

49

YU830305-4

ADAPTER

50

YU770372-4

O-RING

51

YU703680-4

GUIDE

52

YU702983-4

TUBE

53

YU702984-4

PLATE

54

YU627010-1

NUT

55

YU632019-1

PIN

56

YU632754-0

PIN,SPRING

Выбрано товаров: 57