Запчасти Komatsu PC650-1 РАБОЧЕЕ ОБОРУДОВАНИЕ СМАЗКА (/) (ДЛЯ ПОГРУЗ.)(№7-) РАБОЧЕЕ ОБОРУДОВАНИЕ

Схема запчастей Komatsu PC650-1 - РАБОЧЕЕ ОБОРУДОВАНИЕ СМАЗКА (/) (ДЛЯ ПОГРУЗ.)(№7-) РАБОЧЕЕ ОБОРУДОВАНИЕ
FIT
1:1
100%

Артикул

Название

Примечание

Количество

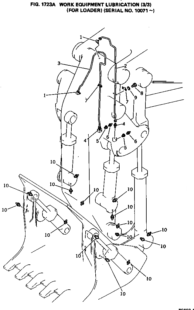
1

209-72-16140

ELBOW

2

209-72-16493

TUBE

3

209-72-16523

TUBE

4

07213-51013

CONNECTOR

5

07326-10201

ADAPTER

6

07020-00000

FITTING,GREASE

7

07282-01048

CLAMP

8

01010-50612

BOLT

9

01602-20619

WASHER,SPRING

10

07020-00000

FITTING,GREASE

Выбрано товаров: 10