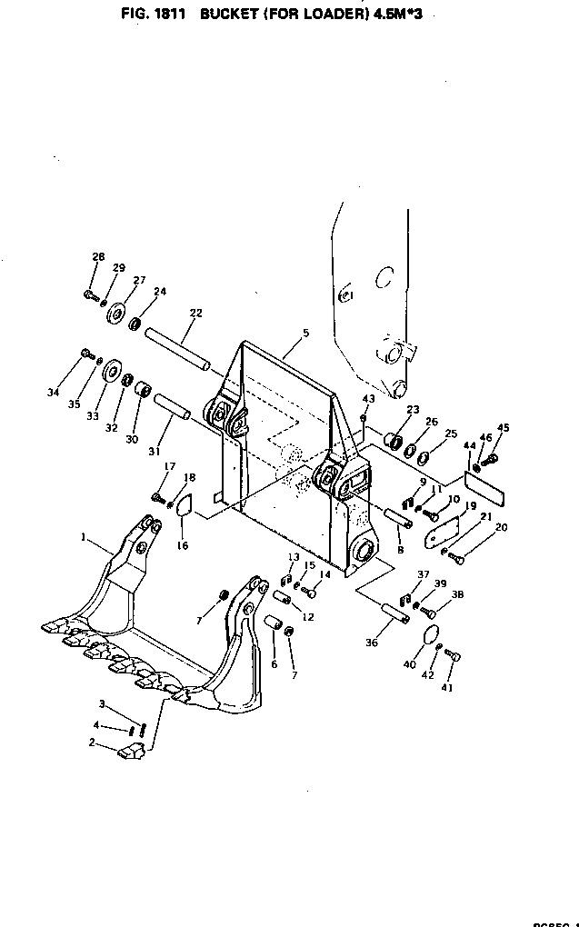
Запчасти Komatsu PC650-1 КОВШ (ДЛЯ ПОГРУЗ.) .M. ОПЦИОННЫЕ КОМПОНЕНТЫ

Схема запчастей Komatsu PC650-1 - КОВШ (ДЛЯ ПОГРУЗ.) .M. ОПЦИОННЫЕ КОМПОНЕНТЫ
FIT
1:1
100%

Артикул

Название

Примечание

Количество

1

209-961-1120

BUCKET,FRONT

2

209-72-14150

POINT

3

209-72-14160

PIN

4

209-72-14170

LOCK

5

209-961-1110

BUCKET,REAR

6

209-72-14310

BUSHING

7

209-72-14320

SEAL

8

209-72-14290

PIN

9

209-72-14260

LOCK

10

01010-52045

BOLT

11

01643-32060

WASHER

12

209-72-14280

PIN

13

209-72-14260

LOCK

14

01010-52045

BOLT

15

01643-32060

WASHER

16

209-72-14342

COVER

17

01010-51020

BOLT

18

01643-31032

WASHER

19

209-72-14332

COVER

20

01010-51020

BOLT

21

01643-31032

WASHER

22

209-72-14211

PIN

23

209-72-12191

BUSHING

24

209-72-12211

SEAL

25

209-72-11220

SHIM, 1.0MM

26

209-72-11230

SHIM, 1.5MM

27

209-72-14222

RETAINER

28

01010-52460

BOLT

29

01643-32460

WASHER

30

209-72-14231

BUSHING

31

209-72-14240

PIN

32

209-72-12211

SEAL

33

209-72-14220

RETAINER

34

01010-51645

BOLT

35

01643-31645

WASHER

36

209-72-14290

PIN

37

209-72-14260

LOCK

38

01010-52045

BOLT

39

01643-32060

WASHER

40

209-72-14271

COVER

41

01010-51020

BOLT

42

01643-31032

WASHER

43

07049-01012

PLUG

44

209-72-14350

COVER

45

01010-51020

BOLT

46

01643-31032

WASHER

Выбрано товаров: 0