Запчасти Komatsu PC650-1 MODIFIED ЧАСТИ (ДЛЯ ПЕДАЛЬ ХОДА) (ДЛЯ США)(№9-) ОПЦИОННЫЕ КОМПОНЕНТЫ

Схема запчастей Komatsu PC650-1 - MODIFIED ЧАСТИ (ДЛЯ ПЕДАЛЬ ХОДА) (ДЛЯ США)(№9-) ОПЦИОННЫЕ КОМПОНЕНТЫ
FIT
1:1
100%

Артикул

Название

Примечание

Количество

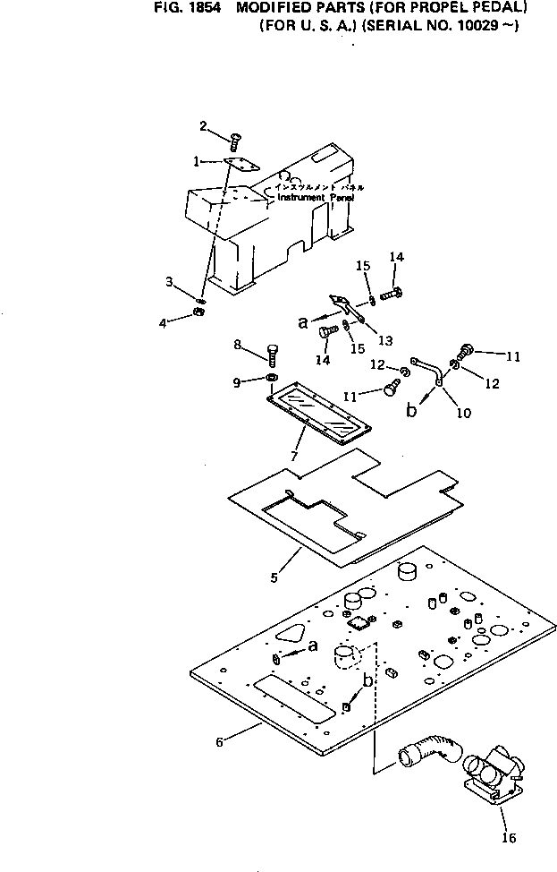
1

209-06-21340

PLATE

2

01220-40410

SCREW

3

01601-20410

WASHER,SPRING

4

01580-10403

NUT

5

209-54-32320

MAT

6

209-54-32310

FLOOR

7

209-54-32330

SASH

7

209-54-32340

GLASS

8

01010-50635

BOLT

9

01643-30623

WASHER

10

209-43-14150

REST,FOOT

11

01010-50825

BOLT

12

01602-20825

WASHER,SPRING

13

209-43-14160

FOOT REST,FOOT

14

01010-50825

BOLT

15

01602-20825

WASHER,SPRING

16

209-988-3350

DUCT

Выбрано товаров: 0