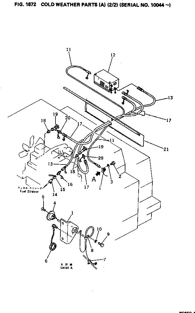
Запчасти Komatsu PC650-1 МОРОЗОУСТОЙЧИВ. СПЕЦ-Я ЧАСТИ (A) (/)(№-) ОПЦИОННЫЕ КОМПОНЕНТЫ

Схема запчастей Komatsu PC650-1 - МОРОЗОУСТОЙЧИВ. СПЕЦ-Я ЧАСТИ (A) (/)(№-) ОПЦИОННЫЕ КОМПОНЕНТЫ
FIT
1:1
100%

Артикул

Название

Примечание

Количество

1

209-06-12460

BRACKET

2

01010-51225

BOLT

3

01643-31232

WASHER

4

209-06-12470

RECEPTACLE

5

01225-40312

SCREW

6

176-06-41270

CAP ASS'Y

7

08034-00519

BAND

8

08036-40810

CLIP

9

01010-50812

BOLT

10

01602-20825

WASHER,SPRING

11

175-98-22360

CABLE

12

175-98-22350

PRE HEATER ASS'Y

13

154-04-11370

HOSE

14

209-04-11270

TEE

15

07700-40440

VALVE

16

209-04-11280

PLUG

17

175-98-22390

HOSE

18

07326-11004

ADAPTER

19

195-911-5591

VALVE

20

175-98-22410

PLUG

21

209-54-12980

COVER

Выбрано товаров: 21