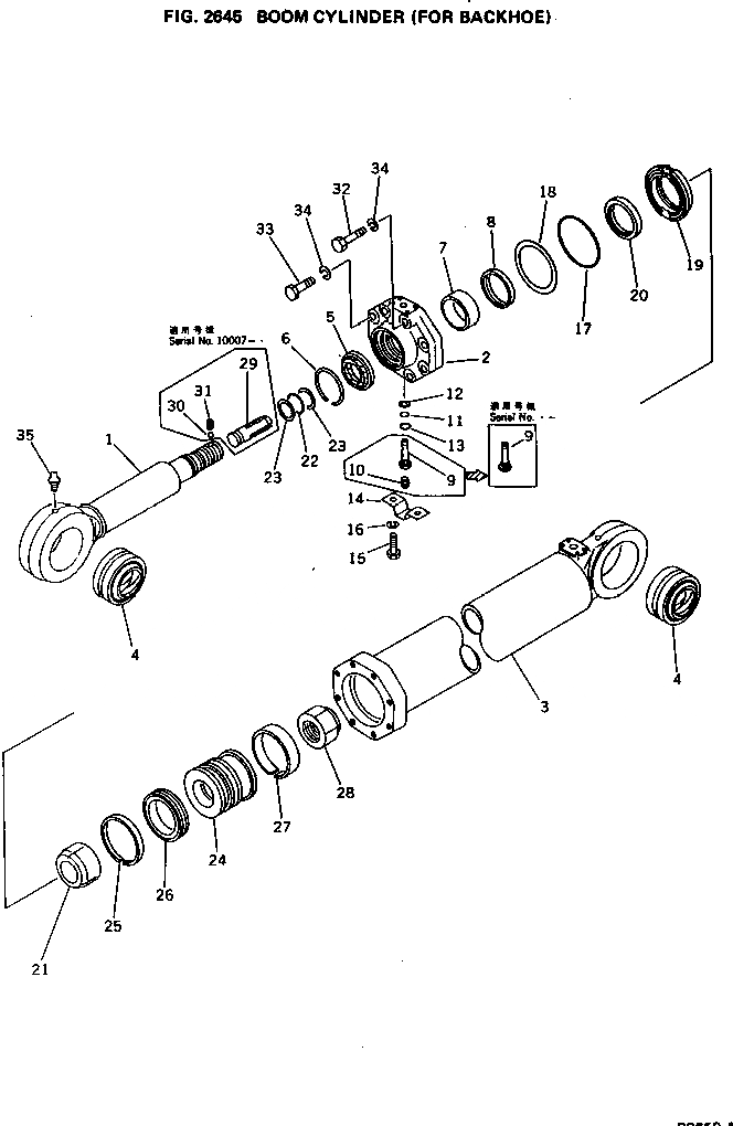
Запчасти Komatsu PC650-1 ЦИЛИНДР СТРЕЛЫ(ДЛЯ ЭКСКАВАТ.) ОПЦИОННЫЕ КОМПОНЕНТЫ (СПЕЦ. APPLICATION ЧАСТИ)

Схема запчастей Komatsu PC650-1 - ЦИЛИНДР СТРЕЛЫ(ДЛЯ ЭКСКАВАТ.) ОПЦИОННЫЕ КОМПОНЕНТЫ (СПЕЦ. APPLICATION ЧАСТИ)
FIT
1:1
100%

Артикул

Название

Примечание

Количество

|$0

209-63-52103

CYLINDER ASS'Y

|$1

209-63-52102

CYLINDER ASS'Y

1

209-63-52121

ROD

2

707-28-22010

HEAD

3

209-63-52141

CYLINDER

4

707-46-11520

BUSHING

5

198-63-93170

SEAL

6

707-75-14010

RING

6

198-63-43530

RING

7

707-52-11401

BUSHING

8

707-51-14110

PACKING

9

209-63-56270

CAPILLARY

9

209-63-96230

CAPILLARY

10

07042-20108

PLUG

11

07000-11009

O-RING

12

07001-01009

RING

13

07002-11823

O-RING

14

209-63-52170

PLATE

15

01010-51020

BOLT

16

01602-21030

WASHER

17

07000-15230

O-RING

18

07001-05230

RING

19

707-71-31510

COLLAR

20

707-71-11510

RING

21

707-71-51510

PLUNGER

22

07000-12095

O-RING

23

07001-02095

RING

24

707-36-22961

PISTON

24

707-36-22960

RING

25

07156-02225

RING

26

707-44-22080

RING

27

07155-02250

RING

28

19M-63-52271

NUT

29

207-63-66160

PLUNGER

30

04260-00952

BALL

31

209-63-66290

SCREW

32

01011-82440

BOLT

33

01011-82400

BOLT

34

01602-22472

WASHER

35

07020-00000

FITTING

Выбрано товаров: 40