Запчасти Komatsu PC650-1 ЭЛЕКТРИКА (/7) (KT)(№7-) КОМПОНЕНТЫ ДВИГАТЕЛЯ И ЭЛЕКТРИКА

Схема запчастей Komatsu PC650-1 - ЭЛЕКТРИКА (/7) (KT)(№7-) КОМПОНЕНТЫ ДВИГАТЕЛЯ И ЭЛЕКТРИКА
FIT
1:1
100%

Артикул

Название

Примечание

Количество

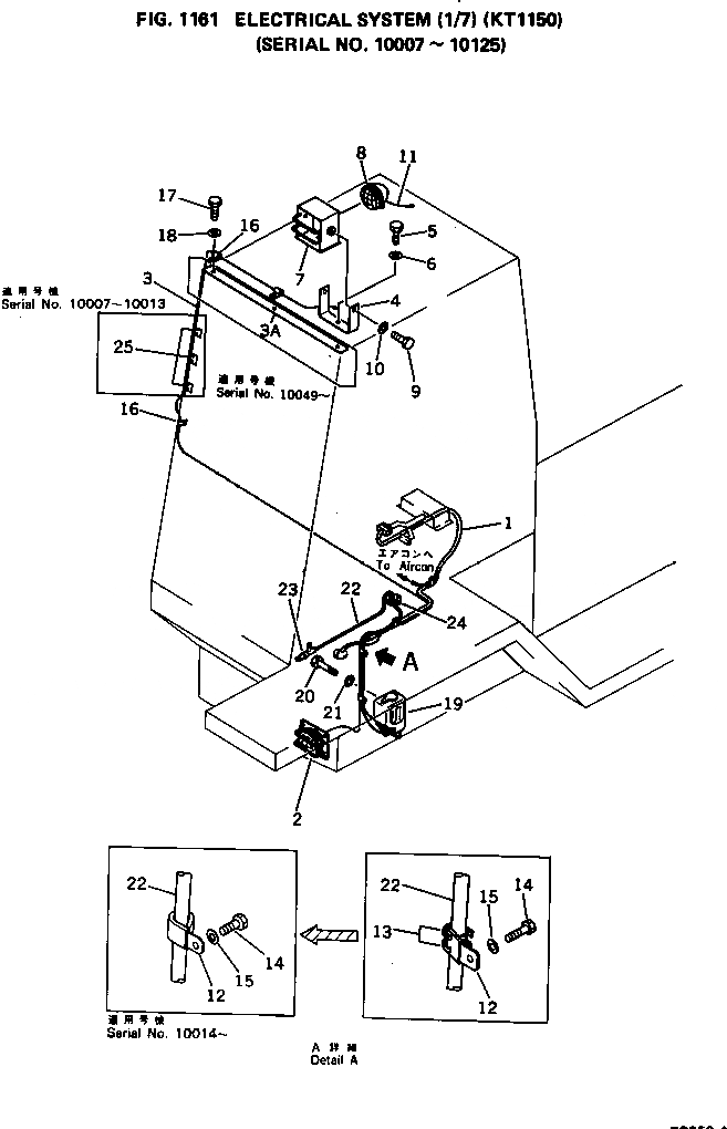
1

209-06-13271

WIRE,HARNESS

2

144-06-13103

LAMP ASS'Y

3

209-06-12280

WIRE

3A

209-06-12480

PLATE

4

209-06-12270

BRACKET

5

01010-51225

BOLT

6

01643-31232

WASHER

7

209-06-12260

COVER

8

08128-32400

LAMP

8

08113-02480

BULB, 80W

9

01010-51225

BOLT

10

01643-31232

WASHER

11

205-06-51390

CABLE

12

08036-11214

CLIP

12

175-07-23570

CLIP

13

08034-00519

BAND

14

01010-51220

BOLT

14

01010-51220

BOLT

15

01643-31232

WASHER

15

01643-31232

WASHER

16

08036-10814

CLIP

17

01010-51225

BOLT

18

01643-31232

WASHER

19

206-06-15230

TANK

20

01010-50616

BOLT

21

01643-30623

WASHER

22

209-06-12220

HOSE

23

21T-06-11380

ELBOW

24

08037-03614

GROMMET

25

202-54-11660

CLIP

Выбрано товаров: 30