Запчасти Komatsu PC650-1 ЭЛЕКТРИКА (/7) (KT)(№-) КОМПОНЕНТЫ ДВИГАТЕЛЯ И ЭЛЕКТРИКА

Схема запчастей Komatsu PC650-1 - ЭЛЕКТРИКА (/7) (KT)(№-) КОМПОНЕНТЫ ДВИГАТЕЛЯ И ЭЛЕКТРИКА
FIT
1:1
100%

Артикул

Название

Примечание

Количество

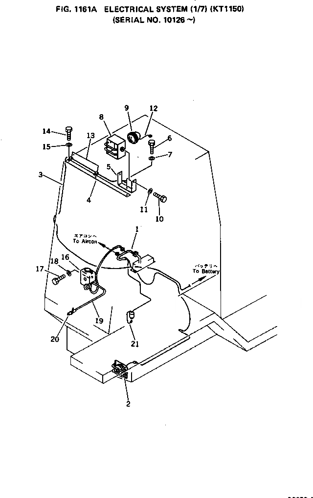
1

209-06-13272

WIRING HARNESS

2

144-06-13103

LAMP ASS'Y

3

209-06-12280

WIRE

4

209-06-12480

PLATE

5

209-06-12270

BRACKET

6

01010-51225

BOLT

7

01643-31232

WASHER

8

209-06-12260

COVER

9

08128-32400

LAMP

9

08113-02480

BULB, 80W

10

01010-51225

BOLT

11

01643-31232

WASHER

12

205-06-51390

CABLE

13

08036-10814

CLIP

14

01010-51225

BOLT

15

01643-31232

WASHER

16

206-06-15230

TANK,WASHER

17

01010-50610

BOLT

18

01643-30623

WASHER

19

209-06-12220

HOSE

20

21T-06-11380

ELBOW

21

205-06-51350

WIRE

Выбрано товаров: 22