Запчасти Komatsu PC650-1 БЛОК КОНДИЦИОНЕРА (ДЛЯ США)(№7-) ОПЦИОННЫЕ КОМПОНЕНТЫ (СПЕЦ. APPLICATION ЧАСТИ)

Схема запчастей Komatsu PC650-1 - БЛОК КОНДИЦИОНЕРА (ДЛЯ США)(№7-) ОПЦИОННЫЕ КОМПОНЕНТЫ (СПЕЦ. APPLICATION ЧАСТИ)
FIT
1:1
100%

Артикул

Название

Примечание

Количество

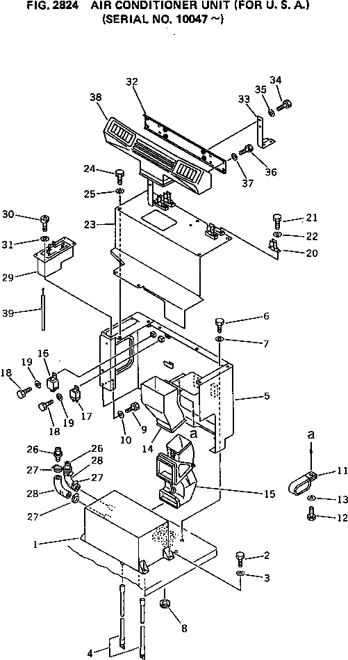
1

205-979-6110

COOLING UNIT

2

01010-51220

BOLT

3

01643-31232

WASHER

4

209-979-1250

HOSE

5

209-979-1110

COVER

6

01010-51225

BOLT

7

01643-31232

WASHER

8

08037-03614

GROMMET

9

01010-51020

BOLT

10

01643-31032

WASHER

11

195-911-4350

CLIP

12

01010-51225

BOLT

13

01643-31232

WASHER

14

205-979-6140

DUCT

15

205-979-6120

DUCT

16

198-911-5590

RELAY ASS'Y

17

205-979-6460

RELAY ASS'Y

18

01010-50812

BOLT

19

01643-30823

WASHER

20

22D-62-14560

CLAMP

21

01010-51016

BOLT

22

01643-31032

WASHER

23

209-979-1120

COVER

24

01010-51225

BOLT

25

01643-31232

WASHER

26

209-979-1260

JOINT

27

07281-00259

CLAMP,HOSE

28

09483-30450

HOSE

29

205-979-6160

CONTROL ASS'Y

30

21T-06-13620

BOLT

31

21T-06-13560

WASHER

32

205-979-6171

BRACKET

33

209-979-1130

BRACKET

34

01010-50816

BOLT

35

01643-30823

WASHER

36

01010-50812

BOLT

37

01643-30823

WASHER

38

205-979-6130

DUCT

39

205-979-6280

CABLE

Выбрано товаров: 39