Запчасти Komatsu PC650-1 ЭЛЕКТРИКА (/7) (KT) КОМПОНЕНТЫ ДВИГАТЕЛЯ И ЭЛЕКТРИКА

Схема запчастей Komatsu PC650-1 - ЭЛЕКТРИКА (/7) (KT) КОМПОНЕНТЫ ДВИГАТЕЛЯ И ЭЛЕКТРИКА
FIT
1:1
100%

Артикул

Название

Примечание

Количество

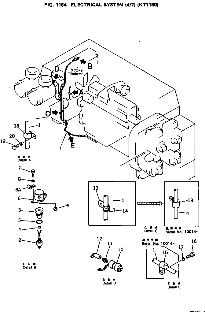
1

209-06-13190

WIRE ASS'Y

2

281-06-13942

SWITCH

3

281-03-11920

PLUG

4

07002-21023

O-RING

5

07002-23634

O-RING

6

286-03-11320

COVER

6A

08036-10814

CLIP

7

01010-51016

BOLT

8

01643-21032

WASHER

9

08037-01008

GROMMET

10

21T-06-11170

INDICATOR,DUST

11

600-181-0320

ADAPTER

12

560-02-12610

ELBOW

13

08036-11214

CLIP

13

175-07-23570

CLIP

14

08034-00519

BAND

15

08036-01414

CLIP

16

01010-51220

BOLT

17

01643-31232

WASHER

18

08036-10810

CLIP

19

01010-50816

BOLT

20

01643-30823

WASHER

Выбрано товаров: 22