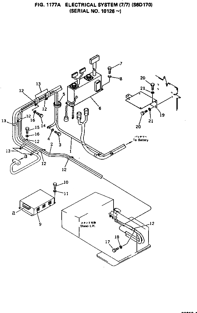
Запчасти Komatsu PC650-1 ЭЛЕКТРИКА (7/7) (SD7)(№-) КОМПОНЕНТЫ ДВИГАТЕЛЯ И ЭЛЕКТРИКА

Схема запчастей Komatsu PC650-1 - ЭЛЕКТРИКА (7/7) (SD7)(№-) КОМПОНЕНТЫ ДВИГАТЕЛЯ И ЭЛЕКТРИКА
FIT
1:1
100%

Артикул

Название

Примечание

Количество

1

08028-15400

WIRE, 4000MM

2

209-06-25150

WIRE

3

01010-51225

BOLT

4

01643-31232

WASHER

5

08037-05016

GROMMET

6

209-06-25110

JUNCTION BOX

7

01010-50612

BOLT

8

01602-20619

WASHER,SPRING

9

209-06-11552

CONTROL BOX

10

01010-50612

BOLT

11

01602-20619

WASHER,SPRING

12

209-06-12190

CLIP

13

176-911-4170

CLIP

14

01010-51225

BOLT

15

01010-51220

BOLT

16

01643-31232

WASHER

17

01010-51020

BOLT

18

01643-31032

WASHER

19

209-06-25230

BRACKET

20

01010-51020

BOLT

21

01643-31032

WASHER

Выбрано товаров: 21