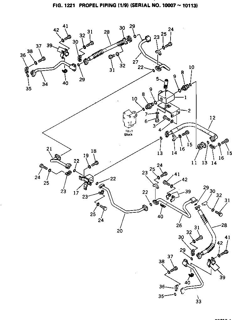
Запчасти Komatsu PC650-1 ГИДРОЛИНИЯ ХОДА(/9)(№7-) ХОД И КОНЕЧНАЯ ПЕРЕДАЧА

Схема запчастей Komatsu PC650-1 - ГИДРОЛИНИЯ ХОДА(/9)(№7-) ХОД И КОНЕЧНАЯ ПЕРЕДАЧА
FIT
1:1
100%

Артикул

Название

Примечание

Количество

1

209-60-31110

VALVE

2

209-62-28681

BRACKET

3

01010-51230

BOLT

4

01643-31232

WASHER

5

209-62-28761

SEAT

6

01010-51290

BOLT

7

01643-31232

WASHER

8

209-62-19150

NIPPLE

9

07000-13038

O-RING

10

07000-13028

O-RING

11

21T-62-14270

BRACKET

12

07098-01008

HOSE

13

07000-13032

O-RING

14

07371-31049

FLANGE,SPLIT

15

07372-21035

BOLT

16

01643-51032

WASHER

17

209-62-28661

BLOCK

18

01010-51225

BOLT

19

01643-31232

WASHER

20

209-62-28691

TUBE

21

209-62-28711

TUBE

22

07000-13025

O-RING

23

07371-30638

FLANGE,SPLIT

24

01010-50830

BOLT

25

01643-50823

WASHER

26

209-62-28721

TUBE,L.H.

27

209-62-28731

TUBE,R.H.

28

07099-20608

HOSE

29

07000-13025

O-RING

30

07371-30638

FLANGE,SPLIT

31

01010-50830

BOLT

32

01643-50823

WASHER

33

209-62-28741

TUBE,L.H.

34

209-62-28751

TUBE,R.H.

35

07000-13025

O-RING

36

07371-30638

FLANGE,SPLIT

37

01010-50830

BOLT

38

01643-50823

WASHER

39

208-62-18140

CLAMP

40

288-62-18110

CLAMP

41

01010-51025

BOLT

42

01643-31032

WASHER

Выбрано товаров: 42