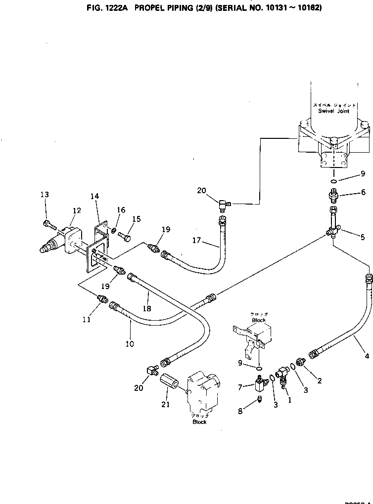
Запчасти Komatsu PC650-1 ГИДРОЛИНИЯ ХОДА(/9)(№-) ХОД И КОНЕЧНАЯ ПЕРЕДАЧА

Схема запчастей Komatsu PC650-1 - ГИДРОЛИНИЯ ХОДА(/9)(№-) ХОД И КОНЕЧНАЯ ПЕРЕДАЧА
FIT
1:1
100%

Артикул

Название

Примечание

Количество

1

21T-60-12250

VALVE

2

205-62-55270

NIPPLE

3

07002-11423

O-RING

4

07102-20307

HOSE

5

209-62-18541

TUBE

6

07230-10315

UNION

7

209-62-28480

ELBOW

8

07042-30108

PLUG

9

07002-12034

O-RING

10

07102-20306

HOSE

11

176-62-15490

NIPPLE

12

21T-60-12230

VALVE

13

01252-40840

BOLT

14

209-62-28780

BRACKET

15

01010-51225

BOLT

16

01643-31232

WASHER

17

07096-00206

HOSE

18

07123-00208

HOSE

19

209-62-15720

NIPPLE

20

209-62-15730

ELBOW

21

21T-60-12260

VALVE

Выбрано товаров: 21