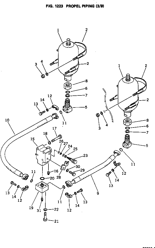
Запчасти Komatsu PC650-1 ГИДРОЛИНИЯ ХОДА(/9) ХОД И КОНЕЧНАЯ ПЕРЕДАЧА

Схема запчастей Komatsu PC650-1 - ГИДРОЛИНИЯ ХОДА(/9) ХОД И КОНЕЧНАЯ ПЕРЕДАЧА
FIT
1:1
100%

Артикул

Название

Примечание

Количество

1

209-60-12131

ACCUMULATOR

2

209-62-28610

CLIP

3

01599-01214

NUT

4

01643-31232

WASHER

5

209-62-28650

ELBOW

6

07000-13032

O-RING

7

07001-03032

RING,BACK-UP

8

01583-14225

NUT

9

07099-00607

HOSE

10

07099-00610

HOSE

11

07000-13025

O-RING

12

07371-30638

FLANGE,SPLIT

13

01010-50830

BOLT

14

01643-50823

WASHER

15

209-62-28632

BLOCK

15

209-62-28631

BLOCK

16

07042-30108

PLUG

17

01010-51295

BOLT

18

01643-31232

WASHER

19

209-62-28641

BLOCK

20

07000-13035

O-RING

21

01010-51060

BOLT

22

01643-31032

WASHER

23

209-62-28990

SPOOL

24

07000-12012

O-RING

25

07001-02012

RING,BACK-UP

26

07000-11006

O-RING

27

07001-01006

RING,BACK-UP

28

21T-30-14250

STOPPER

29

01010-51225

BOLT

30

01643-31232

WASHER

31

07042-30108

PLUG

Выбрано товаров: 32