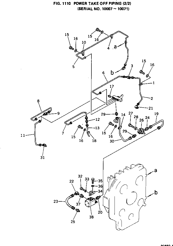
Запчасти Komatsu PC650-1 МЕХ-М ОТБОРА МОЩНОСТИ ТРУБЫ (/)(№7-7) КОМПОНЕНТЫ ДВИГАТЕЛЯ И ЭЛЕКТРИКА

Схема запчастей Komatsu PC650-1 - МЕХ-М ОТБОРА МОЩНОСТИ ТРУБЫ (/)(№7-7) КОМПОНЕНТЫ ДВИГАТЕЛЯ И ЭЛЕКТРИКА
FIT
1:1
100%

Артикул

Название

Примечание

Количество

1

08036-30814

CLIP

2

209-38-12221

TUBE

3

209-38-12290

TEE

4

08036-30814

CLIP

5

209-38-12231

TUBE

6

209-38-12211

TUBE

7

209-38-12182

TUBE

8

209-38-12161

TUBE

9

209-38-12290

TEE

10

209-38-12260

CLIP

11

209-38-12171

TUBE

12

209-38-12410

NIPPLE

13

209-38-12192

TUBE

14

209-38-12270

CLIP

15

01010-51020

BOLT

16

01643-31032

WASHER

17

07042-30312

PLUG

18

08036-30814

CLIP

19

07103-20306

HOSE

20

12F-62-21160

NIPPLE

21

176-43-41350

ELBOW

22

209-38-12530

ELBOW

23

07103-20303

HOSE

24

12F-62-21160

NIPPLE

25

12F-62-21160

NIPPLE

26

209-38-11260

PUMP,TROCHOID

27

01010-50880

BOLT

28

01602-20825

WASHER,SPRING

29

12F-62-21160

NIPPLE

30

07103-20310

HOSE

31

176-43-41350

ELBOW

32

01010-51230

BOLT

33

01643-31232

WASHER

34

209-38-12141

PLATE

35

01010-50820

BOLT

36

01643-30823

WASHER

37

07326-11004

ADAPTER

38

208-38-11520

FILTER

Выбрано товаров: 38