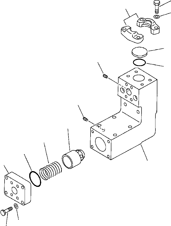
Запчасти Komatsu PC650-3 & PC650LC-3 МАСЛООХЛАДИТЕЛЬ КОРОТК.-PASS КЛАПАН - ПОВОРОТН. УПРАВЛ-Е УПРАВЛ-Е РАБОЧИМ ОБОРУДОВАНИЕМ

Схема запчастей Komatsu PC650-3 & PC650LC-3 - МАСЛООХЛАДИТЕЛЬ КОРОТК.-PASS КЛАПАН - ПОВОРОТН. УПРАВЛ-Е УПРАВЛ-Е РАБОЧИМ ОБОРУДОВАНИЕМ
11
8
12
9
13
10
13
2
3
5
1
4
7
6
FIT
1:1
100%

Артикул

Название

Примечание

Количество

|$0

209-60-52301

VALVE ASSY., OIL COOLER SHORT-PASS - SWING CONTROL

1

209-60-52311

BODY

2

207-60-31250

POPPET

3

209-60-52320

SPRING

4

209-60-52331

FLANGE

5

07000-02075

O-RING

6

01010-51050

BOLT

7

01643-31032

WASHER

8

07371-32076

FLANGE, SPLIT

9

07378-12000

HEAD

10

07000-02060

O-RING

11

07372-21240

BOLT

12

01643-51232

WASHER

13

07042-30108

PLUG

Выбрано товаров: 14