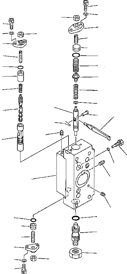
Запчасти Komatsu PC650-3 & PC650LC-3 ГИДР. НАСОС. NO. ЗАДН. СЕРВОКЛАПАН УПРАВЛ-Е РАБОЧИМ ОБОРУДОВАНИЕМ

Схема запчастей Komatsu PC650-3 & PC650LC-3 - ГИДР. НАСОС. NO. ЗАДН. СЕРВОКЛАПАН УПРАВЛ-Е РАБОЧИМ ОБОРУДОВАНИЕМ
15
16
17
32
14
35
33
12
31
34
13
10
27
26
9
25
8
7
3
22
4
5
6
2
21
23
24
2
1
2
20
30
28
18
29
31
19
33
35
32
11
FIT
1:1
100%

Артикул

Название

Примечание

Количество

|$0

708-25-56300

VALVE ASSEMBLY, REAR SERVO

|$1

708-23-07021

BODY ASSEMBLY

1

NSS

BODY

2

NSS

PLUG

3

708-25-15120

PISTON

4

708-25-15270

ARM

5

04205-00514

PIN

6

04050-01210

PIN, COTTER

7

708-25-15130

SEAT

8

708-25-55130

SPRING

9

708-23-15120

SEAT

10

708-25-55120

SPRING

11

708-23-15160

PLUG

12

708-25-15340

SCREW

13

07000-02018

O-RING

14

708-25-15150

COVER

15

708-25-15320

BOLT

16

01602-20619

WASHER, SPRING

17

01580-10806

NUT

18

708-25-55170

PLUG

19

07239-12009

NUT

20

07002-02034

O-RING

21

708-25-15180

SLEEVE

22

708-25-15280

SPOOL

23

708-25-15260

PLUG

24

07002-00823

O-RING

25

708-25-15310

SPRING

26

708-25-15330

SPACER

27

07000-02012

O-RING

28

708-25-15430

PLUG

29

708-25-15340

SCREW

30

07000-02012

O-RING

31

708-25-15250

COVER

32

708-25-15320

BOLT

33

01602-20619

WASHER, SPRING

34

708-25-15340

SCREW

35

01580-10806

NUT

Выбрано товаров: 37