Качественные детали и логистика
Оригинальные и аналоговые запчасти с доставкой по России, Казахстану и Беларуси
©2022 PartSell ООО "Система" ИНН 2463123282 ОГРН 1212400004838
Центральный офис: г. Красноярск, Академика Киренского, д.87, пом.4
Телефон: 8 (800) 777-65-74 Email: zakaz@partsell.ru
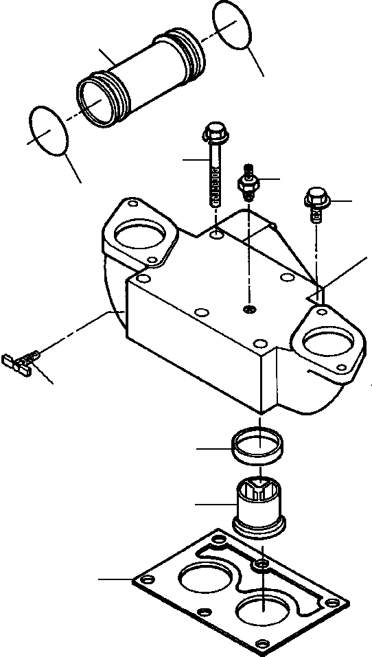
ВОДЯНОЙ КОЛЛЕКТОР
№
Артикул
Название
Примечание
Количество
1
1238 791 H1
TUBE, WATER TRANSFER
2
1239 565 H1
O-RING
3
1238 601 H1
THERMOSTAT
|$3
1239 356 H91
HOUSING ASSEMBLY, THERMOSTAT
4
1238 310 H1
CONNECTOR, MALE
5
1238 500 H1
SEAL, THERMOSTAT
6
1239 229 H1
HOUSING, THERMOSTAT
7
1238 131 H1
DRAINCOCK
8
140 483 H
BOLT, W/WASHER - 3/8-16 X 1 1/4
9
1239 213 H1
BOLT, W/WASHER - 3/8-16 X 3 3/4
10
1239 224 H1
GASKET, THERMOSTAT HOUSING
Выбрано товаров: 0