Запчасти Komatsu PC650-3 & PC650LC-3 РАДИАТОР И БЛОКИР.ING КРЫШКА КОМПОНЕНТЫ ДВИГАТЕЛЯ & ЭЛЕКТРИКА

Схема запчастей Komatsu PC650-3 & PC650LC-3 - РАДИАТОР И БЛОКИР.ING КРЫШКА КОМПОНЕНТЫ ДВИГАТЕЛЯ & ЭЛЕКТРИКА
20
21
23
22
3
4
5
6
7
24
2
9
8
1
12
14
18
13
11
13
14
10
13
12
14
11
16
18
17
15
FIT
1:1
100%

Артикул

Название

Примечание

Количество

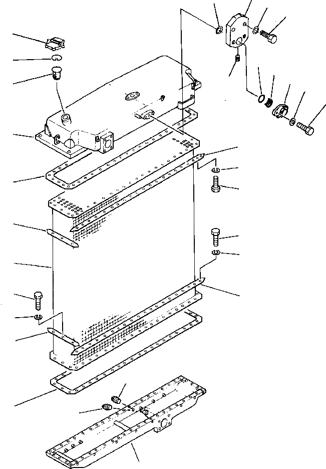
1

209-03-51430

TANK, UPPER

2

07056-00048

STRAINER

3

07093-20000

CAP

4

07057-03271

RING, SNAP

5

07000-03045

O-RING

6

175-03-32570

SCREEN

7

154-03-11682

VALVE ASSEMBLY, PRESSURE

8

01010-51025

BOLT

9

01643-31032

WASHER

10

195-03-22131

CORE

11

195-03-11143

PLATE

12

195-03-22260

PLATE

13

01010-51030

BOLT

14

01602-21030

WASHER, SPRING

15

195-03-22120

TANK, LOWER

16

07042-70415

PLUG

17

07042-30108

PLUG

18

195-03-22430

GASKET

20

21T-03-11430

BLOCK

21

07000-02015

O-RING

22

01010-51055

BOLT

23

01643-31032

WASHER

24

07042-30211

PLUG

Выбрано товаров: 23