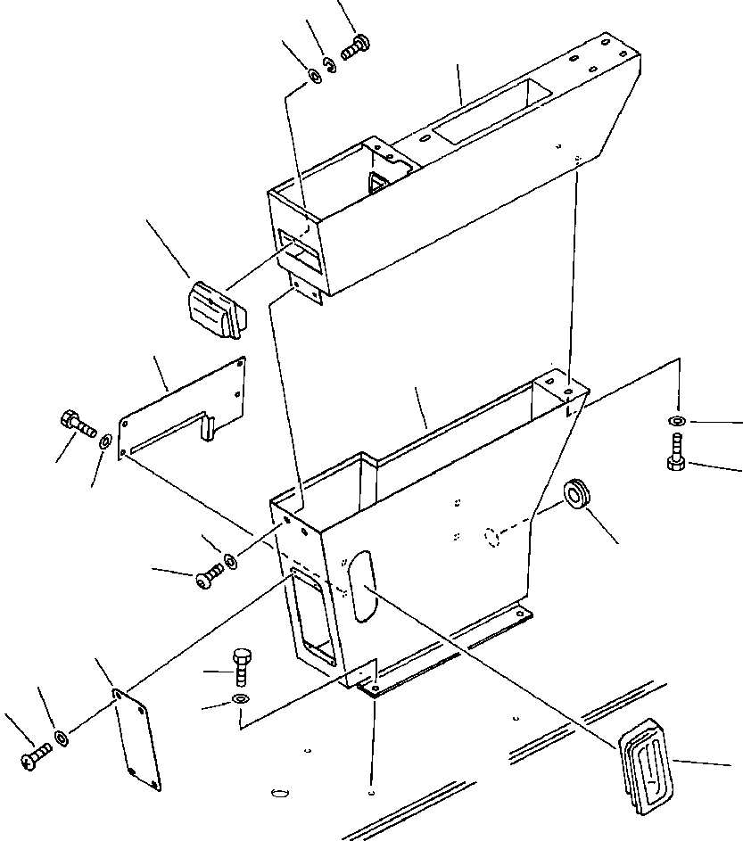
Запчасти Komatsu PC650-3 & PC650LC-3 УПРАВЛ-Е СТОЙКА - ЛЕВ. СИСТЕМА УПРАВЛЕНИЯ И ОСНОВНАЯ РАМА

Схема запчастей Komatsu PC650-3 & PC650LC-3 - УПРАВЛ-Е СТОЙКА - ЛЕВ. СИСТЕМА УПРАВЛЕНИЯ И ОСНОВНАЯ РАМА
5
6
7
1
4
11
10
9
12
8
13
3
20
2
14
18
16
15
19
17
FIT
1:1
100%

Артикул

Название

Примечание

Количество

1

21N-43-11210

BOX - L.H

2

21N-43-11260

SCREW

3

21N-43-11270

WASHER

4

205-54-72240

ASHTRAY

5

01220-40408

SCREW

6

01601-20410

WASHER, SPRING

7

01642-20405

WASHER

8

01010-51220

BOLT

9

01643-31232

WASHER

10

21N-43-11230

CASE

11

209-43-51871

COVER

12

01010-50820

B0LT

13

01643-30823

WASHER

14

209-43-51370

COVER

15

205-43-71280

SCREW

16

205-43-73420

WASHER

17

205-43-72480

HANDLE

18

01010-51225

BOLT

19

01643-31232

WASHER

20

207-54-16860

GROMMET

Выбрано товаров: 20