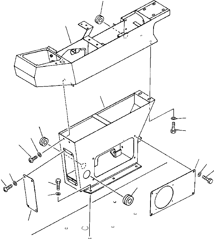
Запчасти Komatsu PC650-3 & PC650LC-3 УПРАВЛ-Е СТОЙКА - ПРАВ. СИСТЕМА УПРАВЛЕНИЯ И ОСНОВНАЯ РАМА

Схема запчастей Komatsu PC650-3 & PC650LC-3 - УПРАВЛ-Е СТОЙКА - ПРАВ. СИСТЕМА УПРАВЛЕНИЯ И ОСНОВНАЯ РАМА
2
1
7
6
8
5
4
3
17
11
10
14
13
15
16
12
9
FIT
1:1
100%

Артикул

Название

Примечание

Количество

1

21N-43-11220

BOX - R.H

2

08037-02512

GROMMET

3

21N-43-11260

SCREW

4

21N-43-11270

WASHER

5

01010-51220

BOLT

6

01643-31232

WASHER

7

21N-43-11240

CASE

8

08037-02512

GROMMET

9

08037-03614

GROMMET

10

01010-50820

BOLT

11

01643-30823

WASHER

12

209-43-51370

COVER

13

205-43-71280

SCREW

14

205-43-73420

WASHER

15

01010-51225

BOLT

16

01643-31232

WASHER

17

205-43-71673

COVER

Выбрано товаров: 17