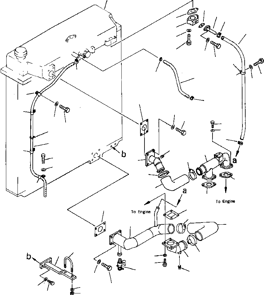
Запчасти Komatsu PC650-3 & PC650LC-3 СИСТЕМА ТРУБ РАДИАТОРА КОМПОНЕНТЫ ДВИГАТЕЛЯ & ЭЛЕКТРИКА

Схема запчастей Komatsu PC650-3 & PC650LC-3 - СИСТЕМА ТРУБ РАДИАТОРА КОМПОНЕНТЫ ДВИГАТЕЛЯ & ЭЛЕКТРИКА
21
22
23
18
27
19
26
10
20
25
24
28
12
17
16
14
10
13
17
8
13
10
9
10
3
14
4
29
27
11
13
15
1
14
6
7
10
6
2
13
5
2
37
35
31
36
32
41
38
4
34
3
30
33
10
9
40
10
39
42
FIT
1:1
100%

Артикул

Название

Примечание

Количество

1

209-03-11231

TUBE

2

CU195866

GASKET

3

02010-70632

BOLT

4

01602-20929

WASHER, SPRING

5

217-03-11171

HOSE

6

20D-09-11130

CLAMP

7

209-03-51461

TUBE

8

195-03-18650

GASKET

9

01010-51235

BOLT

10

01643-31232

WASHER

11

195-03-17880

TUBE

12

07285-00095

CLIP

13

195-03-11690

CLIP

14

01010-51225

BOLT

15

07042-30108

PLUG

16

07260-20971

HOSE

17

07281-00197

CLAMP

18

07343-04808

GASKET

19

209-03-51310

ELBOW

20

01010-51260

BOLT

22

07343-02708

GASKET

23

209-03-51320

TUBE

24

01010-51030

BOLT

25

01643-31032

WASHER

26

198-911-5120

HOSE

27

207-09-11110

CLAMP

28

195-03-11511

CLIP

29

08034-00519

BAND

30

07730-40004

VALVE

31

205-09-61110

CLAMP

32

21T-03-11161

HOSE

33

07042-70415

PLUG

34

209-03-51471

TUBE

35

6712-61-1120

GASKET

36

209-03-51451

TUBE

37

195-03-18650

GASKET

38

209-03-51480

BRACKET

39

01010-51025

BOLT

40

01643-31032

WASHER

41

07283-38973

CLAMP

42

01599-01214

NUT

Выбрано товаров: 41