Запчасти Komatsu PC650-3 АККУМУЛЯТОР (NS) КОМПОНЕНТЫ ДВИГАТЕЛЯ И ЭЛЕКТРИКА

Схема запчастей Komatsu PC650-3 - АККУМУЛЯТОР (NS) КОМПОНЕНТЫ ДВИГАТЕЛЯ И ЭЛЕКТРИКА
FIT
1:1
100%

Артикул

Название

Примечание

Количество

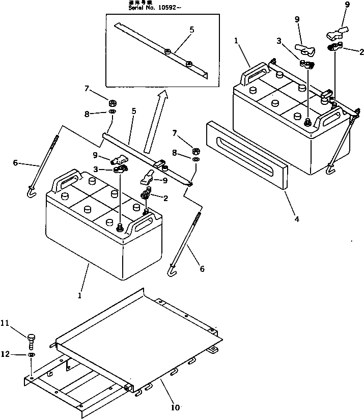
1

08000-32220

BATTERY (165G51) (NS200)

2

08000-00000

TERMINAL¤ (+)

3

08000-00001

TERMINAL¤ (-)

4

154-06-13262

SEAT

5

08005-42056

HOLDER

|5

175-06-51540

HOLDER

6

175-06-51530

STAY

7

01580-11008

NUT

8

01643-31032

WASHER

9

08038-22511

CAP

10

209-06-51241

BRACKET

11

01010-51230

BOLT

12

01643-31232

WASHER

Выбрано товаров: 13