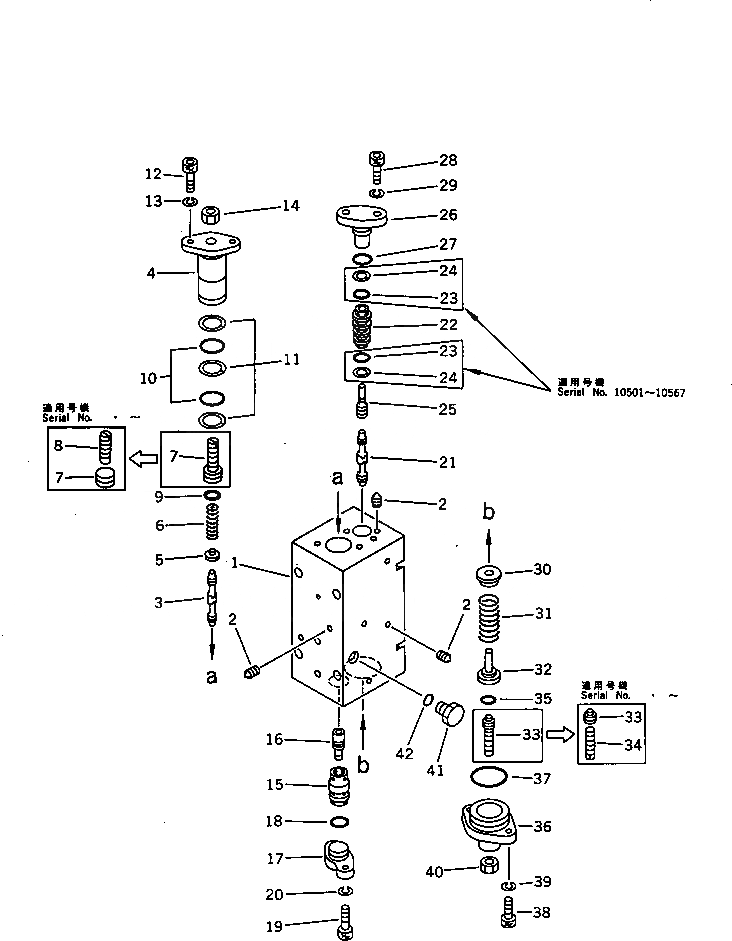
Запчасти Komatsu PC650-3 HYDROULIC НАСОС¤ NO. (ЗАДН. CO И NC КЛАПАН) (/) (С -STAGE SELECTOR MODE OLSS) УПРАВЛ-Е РАБОЧИМ ОБОРУДОВАНИЕМ

Схема запчастей Komatsu PC650-3 - HYDROULIC НАСОС¤ NO. (ЗАДН. CO И NC КЛАПАН) (/)       (С -STAGE SELECTOR MODE OLSS) УПРАВЛ-Е РАБОЧИМ ОБОРУДОВАНИЕМ
FIT
1:1
100%

Артикул

Название

Примечание

Количество

|1

708-25-01011

PUMP ASS'Y

|1

708-25-01010

PUMP ASS'Y

|1

708-25-50101

HYDRAULIC PUMP ASS'Y,(HPV 90+90)

|1

708-25-56100

SERVO VALVE ASS'Y,REAR

|1

708-25-57200

VALVE ASS'Y,CO AND NC

|1

708-23-00310

BODY ASS'Y

1

BODY

|1

4708-25-57210

BODY

2

EXPANDER

3

708-25-17141

SPOOL

|3

708-25-17140

SPOOL

4

708-25-17131

COVER

5

708-25-17180

SEAT

6

708-25-17190

SPRING

7

708-25-17420

PLUG

|7

708-25-17122

PLUG

8

708-25-17430

SCREW

9

07000-02010

O-RING

10

07000-12021

O-RING

11

07001-02021

RING,BACK-UP

12

708-25-15320

BOLT

13

01602-20619

WASHER,SPRING

14

01580-10806

NUT

15

708-25-17150

SLEEVE

16

708-25-17160

PISTON

17

708-25-17170

COVER

18

07000-02014

O-RING

19

708-25-15320

BOLT

20

01602-20619

WASHER,SPRING

21

708-25-17141

SPOOL

|21

708-25-17140

SPOOL

22

708-25-17211

SLEEVE

|22

4708-25-17210

SLEEVE

23

07000-12012

O-RING

24

07001-02012

RING,BACK-UP

25

708-25-17220

PISTON

26

708-25-17230

COVER

27

07000-02012

O-RING

28

708-25-15320

BOLT

29

01602-20619

WASHER,SPRING

30

708-25-17370

SEAT

|30

708-25-17240

SEAT

31

708-25-17250

SPRING

32

708-25-17260

SEAT

33

708-25-17410

PLUG

|33

708-25-17290

PLUG

34

708-25-15340

SCREW

35

07000-01009

O-RING

36

708-25-17350

COVER

37

07000-03028

O-RING

38

708-25-15320

BOLT

39

01602-20619

WASHER,SPRING

40

01580-10806

NUT

41

07040-11007

PLUG

42

07002-01023

O-RING

Выбрано товаров: 0