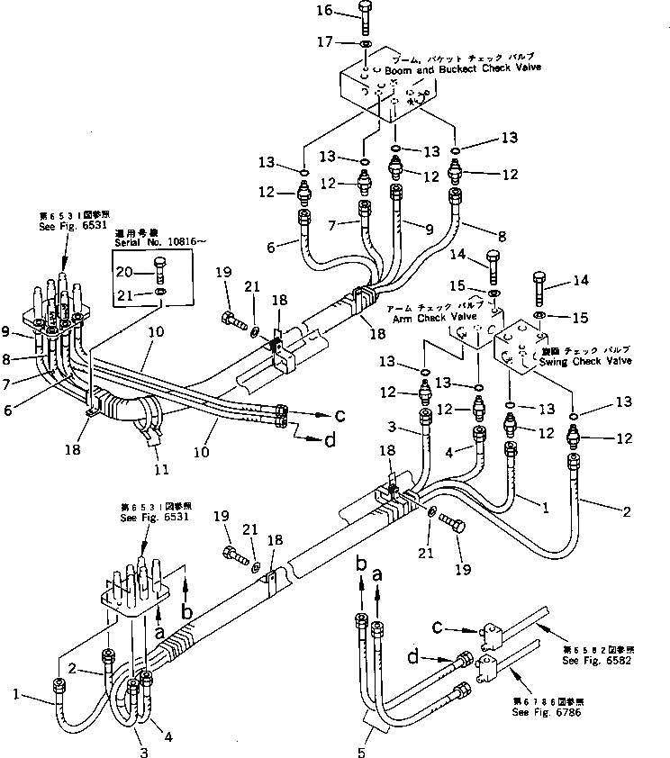
Запчасти Komatsu PC650-3 КОРПУС TO/FROM КОНТРОЛЬНЫЙ КЛАПАНТРУБЫ (ДЛЯ НИЗ. КАБИНА) (ДЛЯ ПОГРУЗ.) УПРАВЛ-Е РАБОЧИМ ОБОРУДОВАНИЕМ

Схема запчастей Komatsu PC650-3 - КОРПУС TO/FROM КОНТРОЛЬНЫЙ КЛАПАНТРУБЫ (ДЛЯ НИЗ. КАБИНА) (ДЛЯ ПОГРУЗ.) УПРАВЛ-Е РАБОЧИМ ОБОРУДОВАНИЕМ
FIT
1:1
100%

Артикул

Название

Примечание

Количество

G1

209-62-X1200

PIPING GROUP

|1

209-62-57790

HOSE ASS'Y

1

07102-20327

HOSE (A)

2

07102-20327

HOSE (B)

3

07102-20327

HOSE (C)

4

07102-20327

HOSE (D)

5

07102-20304

HOSE

|6

209-62-57820

HOSE ASS'Y

6

07102-20332

HOSE (I)

7

07102-20332

HOSE (J)

8

07102-20332

HOSE (K)

9

07102-20332

HOSE (L)

10

07102-20308

HOSE

11

08034-00834

BAND

12

209-62-57740

UNION

13

07002-02034

O-RING

14

01010-51075

BOLT

15

01643-31032

WASHER

16

01010-51085

BOLT

17

01643-31032

WASHER

18

21T-06-11950

CLIP

19

01010-51220

BOLT

|19

01010-51220

BOLT

|19

01010-51225

BOLT

20

01010-51225

BOLT

21

01643-31232

WASHER

Выбрано товаров: 26