Запчасти Komatsu PC650-3 РУКОЯТЬ COMPENSATE ТРУБЫ (ДЛЯ ПОГРУЗ.) (С -POSITION АВТОМАТИЧ. COMPENSATION)(№9-) УПРАВЛ-Е РАБОЧИМ ОБОРУДОВАНИЕМ

Схема запчастей Komatsu PC650-3 - РУКОЯТЬ COMPENSATE ТРУБЫ (ДЛЯ ПОГРУЗ.) (С -POSITION АВТОМАТИЧ.     COMPENSATION)(№9-) УПРАВЛ-Е РАБОЧИМ ОБОРУДОВАНИЕМ
FIT
1:1
100%

Артикул

Название

Примечание

Количество

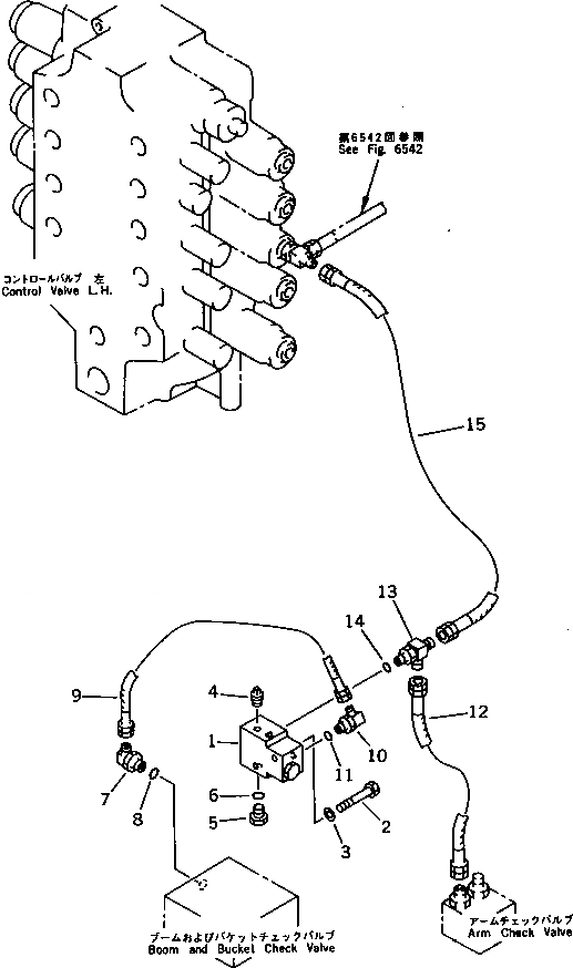
G-1

209-06-X3000

AUTO COMPENSATION G.,(FOR 2-POSITION)

1

21T-60-72600

SHUTTLE VALVE ASS'Y

2

01010-50865

BOLT

3

01643-30823

WASHER

4

07042-30211

PLUG

|4

07042-70211

PLUG

5

07040-11409

PLUG

6

07002-01423

O-RING

7

20N-63-66190

ELBOW

8

07002-02034

O-RING

9

07102-20209

HOSE

10

07235-10210

ELBOW

11

07002-01423

O-RING

12

07102-20304

HOSE

13

21T-62-29960

TEE

14

07002-01423

O-RING

15

07102-20310

HOSE

Выбрано товаров: 17