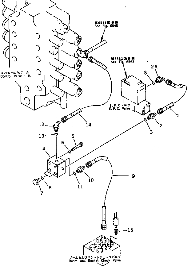
Запчасти Komatsu PC650-3 СТРЕЛА COMPENSATE ТРУБЫ (/) (ДЛЯ ПОГРУЗ.) (С -POSITION АВТОМАТИЧ. COMPENSATION)(№9-) УПРАВЛ-Е РАБОЧИМ ОБОРУДОВАНИЕМ

Схема запчастей Komatsu PC650-3 - СТРЕЛА COMPENSATE ТРУБЫ (/) (ДЛЯ ПОГРУЗ.) (С -POSITION АВТОМАТИЧ. COMPENSATION)(№9-) УПРАВЛ-Е РАБОЧИМ ОБОРУДОВАНИЕМ
FIT
1:1
100%

Артикул

Название

Примечание

Количество

G-1

209-06-X3000

AUTO COMPENSATION G.,(FOR 2-POSITION)

1

07102-20304

HOSE

2

07230-20315

UNION

|2

07230-10315

UNION

2A

07236-10315

ELBOW

3

07002-02034

O-RING

4

702-19-15000

CHECK VALVE ASS'Y

5

01010-51080

BOLT

6

01643-31032

WASHER

7

07040-12012

PLUG

8

07002-02034

O-RING

9

07102-20306

HOSE

10

07230-20315

UNION

|10

07230-10315

UNION

11

07002-02034

O-RING

12

07235-10315

ELBOW

13

07002-02034

O-RING

14

07102-20306

HOSE

15

07326-10210

ADAPTER

Выбрано товаров: 19