Запчасти Komatsu PC650-3 МОТОР ДРЕНАЖН. ТРУБЫ УПРАВЛ-Е РАБОЧИМ ОБОРУДОВАНИЕМ

Схема запчастей Komatsu PC650-3 - МОТОР ДРЕНАЖН. ТРУБЫ УПРАВЛ-Е РАБОЧИМ ОБОРУДОВАНИЕМ
FIT
1:1
100%

Артикул

Название

Примечание

Количество

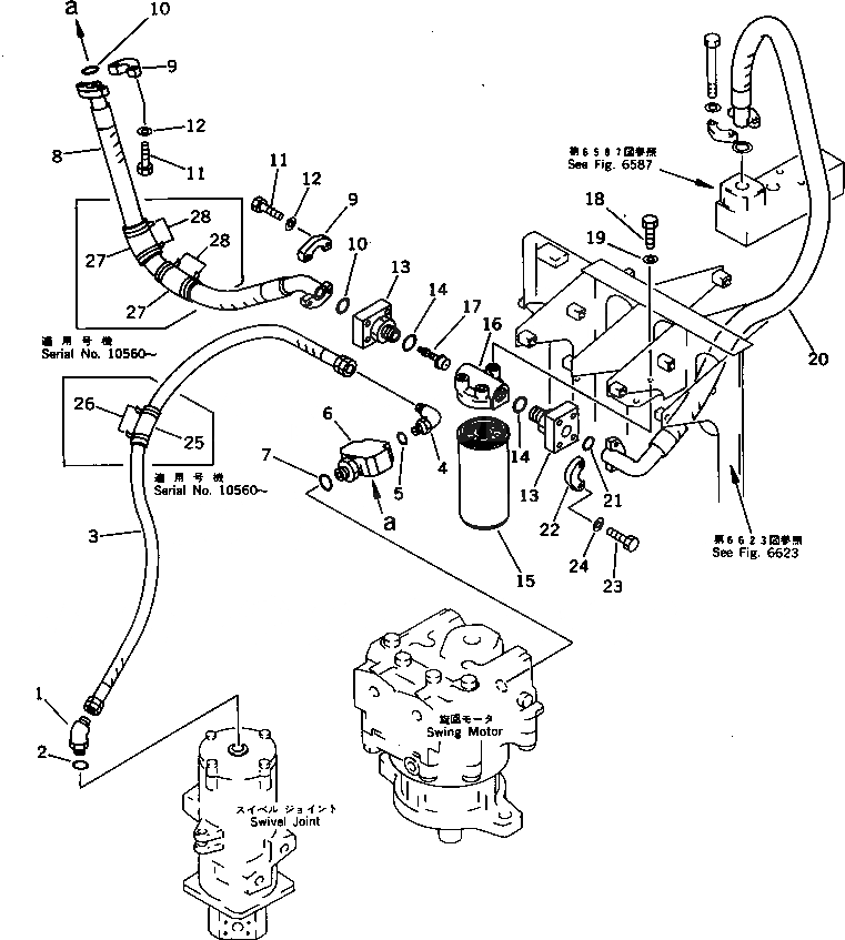
1

07236-10628

ELBOW

2

07002-02434

O-RING

3

07102-20612

HOSE

4

07235-10628

ELBOW

5

07002-02434

O-RING

6

209-62-57221

ELBOW

7

07002-02434

O-RING

8

07297-01013

HOSE

9

07371-31049

FLANGE,SPLIT

10

07000-03032

O-RING

11

07372-21035

BOLT

12

01643-51032

WASHER

13

20D-62-11660

NIPPLE

14

07002-03334

O-RING

15

113-60-23160

CARTRIDGE

16

113-60-23151

BASE

17

21T-62-22270

CHECK VALVE

18

01010-51025

BOLT

19

01643-31032

WASHER

20

07298-01011

HOSE

21

07000-03032

O-RING

22

07371-31049

FLANGE,SPLIT

23

07372-21035

BOLT

24

01643-51032

WASHER

25

205-62-72140

COVER

26

08034-00414

BAND

27

205-62-72240

COVER

28

08034-00536

BAND

Выбрано товаров: 28