Запчасти Komatsu PC650-3 КЛАПАН - ФИЛЬТР. ТРУБЫ (/) УПРАВЛ-Е РАБОЧИМ ОБОРУДОВАНИЕМ

Схема запчастей Komatsu PC650-3 - КЛАПАН - ФИЛЬТР. ТРУБЫ (/) УПРАВЛ-Е РАБОЧИМ ОБОРУДОВАНИЕМ
FIT
1:1
100%

Артикул

Название

Примечание

Количество

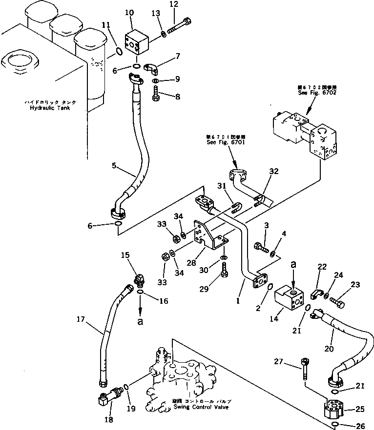
1

209-62-56270

TUBE

2

07000-03045

O-RING

3

01010-51240

BOLT

4

01643-31232

WASHER

5

07298-01208

HOSE

6

07000-03038

O-RING

7

07371-31255

FLANGE,SPLIT

8

07372-21035

BOLT

9

01643-51032

WASHER

10

209-62-56250

BLOCK

11

07000-03048

O-RING

12

01010-51290

BOLT

13

01643-31232

WASHER

14

209-60-52900

VALVE ASS'Y

15

23S-61-15620

ELBOW

16

07002-03334

O-RING

17

07102-21008

HOSE

18

205-62-67820

ELBOW

19

07002-03334

O-RING

20

07298-01206

HOSE

21

07000-03038

O-RING

22

07371-31255

FLANGE,SPLIT

23

07372-21035

BOLT

24

01643-51032

WASHER

25

209-62-56310

BLOCK

26

07000-03038

O-RING

27

01252-41050

BOLT

28

209-62-56211

BRACKET

29

01010-51230

BOLT

30

01643-31232

WASHER

31

07283-23442

CLIP

32

07283-24949

CLIP

33

01599-01011

NUT

34

01643-31032

WASHER

Выбрано товаров: 34