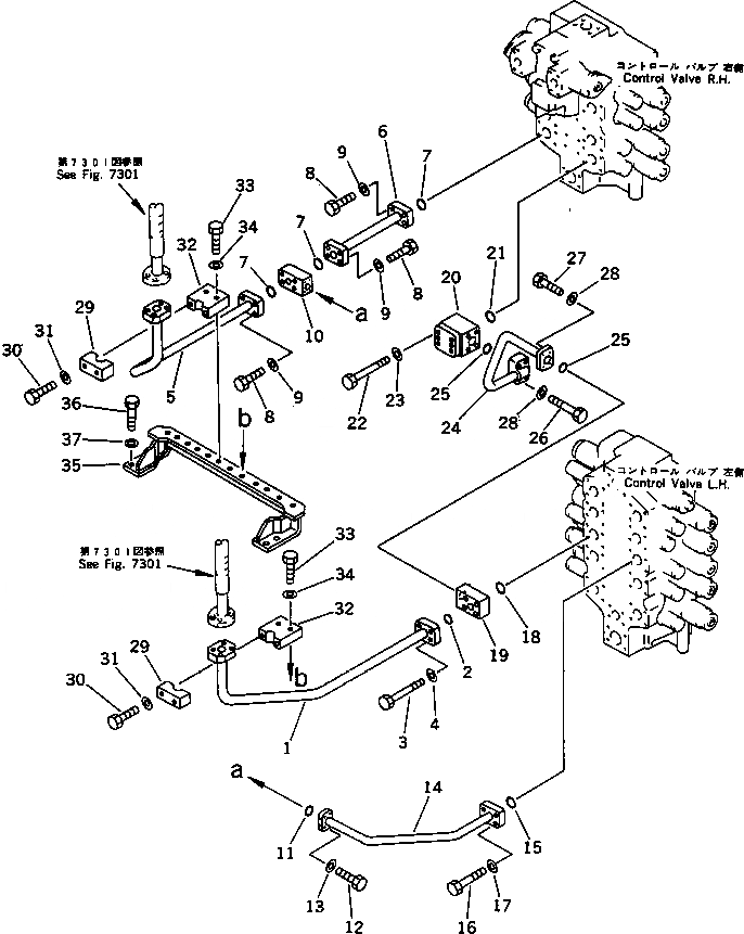
Запчасти Komatsu PC650-3 ЦИЛИНДР РУКОЯТИТРУБЫ (ШАССИ) УПРАВЛ-Е РАБОЧИМ ОБОРУДОВАНИЕМ

Схема запчастей Komatsu PC650-3 - ЦИЛИНДР РУКОЯТИТРУБЫ (ШАССИ) УПРАВЛ-Е РАБОЧИМ ОБОРУДОВАНИЕМ
FIT
1:1
100%

Артикул

Название

Примечание

Количество

1

209-62-52320

TUBE

2

21T-09-11510

O-RING

3

01011-51405

BOLT

4

01643-31445

WASHER

5

209-62-52351

TUBE

6

209-62-52190

TUBE

7

21T-09-11510

O-RING

8

01010-51455

BOLT

9

01643-31445

WASHER

10

209-62-52140

TEE

11

21T-09-11470

O-RING

12

07372-21040

BOLT

|12

01010-51040

BOLT

13

01643-31032

WASHER

14

209-62-52170

TUBE

15

21T-09-11510

O-RING

16

01010-51455

BOLT

17

01643-31445

WASHER

18

21T-09-11510

O-RING

19

209-62-52130

TEE

20

209-60-53100

VALVE ASS'Y

21

21T-09-11510

O-RING

22

01011-51435

BOLT

23

01643-31445

WASHER

24

209-62-52162

TUBE

25

21T-09-11470

O-RING

26

01010-51060

BOLT

27

07372-21040

BOLT

|27

01010-51040

BOLT

28

01643-51032

WASHER

29

176-61-41330

CLAMP

30

01010-51250

BOLT

31

01643-31232

WASHER

32

209-62-52440

CLAMP

33

01010-51250

BOLT

34

175-54-34170

WASHER

35

209-62-52461

BRACKET

36

01010-51650

BOLT

37

21T-72-12620

WASHER

Выбрано товаров: 39