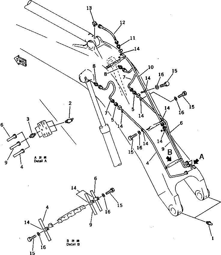
Запчасти Komatsu PC650-3 РАБОЧЕЕ ОБОРУДОВАНИЕ СМАЗКА (СТРЕЛА) РАБОЧЕЕ ОБОРУДОВАНИЕ (ЭКСКАВАТ.)

Схема запчастей Komatsu PC650-3 - РАБОЧЕЕ ОБОРУДОВАНИЕ СМАЗКА (СТРЕЛА) РАБОЧЕЕ ОБОРУДОВАНИЕ (ЭКСКАВАТ.)
FIT
1:1
100%

Артикул

Название

Примечание

Количество

G-1

209-70-X1300

PIPING GROUP,LUBRICATION

1

07020-00000

FITTING,GREASE

2

07020-00900

FITTING,GREASE

3

07213-51013

CONNECTOR

4

209-70-56110

TUBE

5

234-43-12510

JOINT

6

209-70-56120

TUBE

7

198-79-19280

HOSE¤ 890MM

8

205-70-51390

NIPPLE

9

209-70-56130

TUBE

10

209-70-56140

TUBE

11

234-43-12510

JOINT

12

198-79-19280

HOSE¤ 890MM

13

205-70-51380

ELBOW

14

175-04-25390

CLIP

15

01010-51020

BOLT

16

01643-31032

WASHER

Выбрано товаров: 17