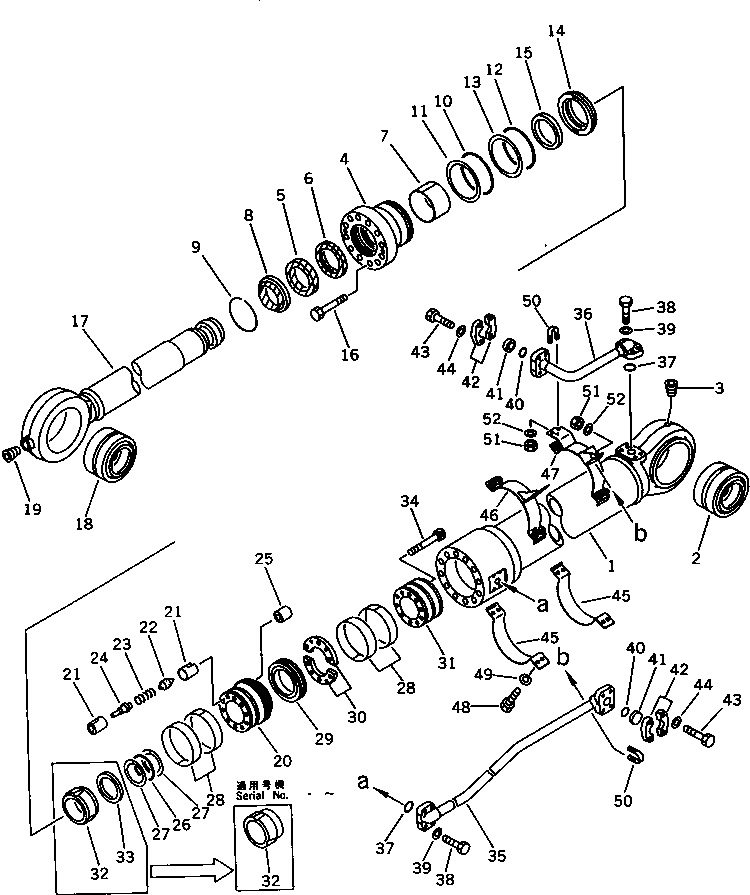
Запчасти Komatsu PC650-3 ЦИЛИНДР КОВША РАБОЧЕЕ ОБОРУДОВАНИЕ (ЭКСКАВАТ.)

Схема запчастей Komatsu PC650-3 - ЦИЛИНДР КОВША РАБОЧЕЕ ОБОРУДОВАНИЕ (ЭКСКАВАТ.)
FIT
1:1
100%

Артикул

Название

Примечание

Количество

G-1

209-63-X2042

BUCKET CYLINDER G.

G-1

209-63-X2041

BUCKET CYLINDER G.

G-1

209-63-X2040

BUCKET CYLINDER G.

|1

209-63-02042

CYLINDER ASS'Y

|1

209-63-02041

CYLINDER ASS'Y

|1

209-63-02040

CYLINDER ASS'Y

1

209-63-72540

CYLINDER

2

707-46-13010

BUSHING

3

07043-00108

PLUG

4

707-28-18510

HEAD,CYLINDER

5

707-51-13130

PACKING,ROD (KIT)

6

707-51-13630

RING,BUFFER (KIT)

7

707-52-91050

BUSHING

|7

707-52-11310

BUSHING

8

707-56-13520

SEAL,DUST (KIT)

9

07179-14146

RING

|9

707-75-13012

RING,SNAP

10

07000-15175

O-RING (KIT)

11

707-35-91850

RING,BACK-UP (KIT)

12

07000-15175

O-RING (KIT)

13

07001-05175

RING,BACK-UP (KIT)

14

707-71-31360

COLLAR

15

707-71-11350

RING

16

01010-52485

BOLT

17

209-63-72520

ROD,PISTON

18

707-46-11520

BUSHING

19

07043-00108

PLUG

|20

707-91-01812

PISTON ASS'Y

|20

707-91-01811

PISTON ASS'Y

20

707-37-18011

PISTON

|20

PISTON

21

SEAT

22

VALVE

23

SPRING

24

VALVE,PISTON

25

707-71-91410

SPACER

26

07000-12110

O-RING (KIT)

27

707-35-52950

RING,BACK-UP (KIT)

28

707-39-18820

RING,WEAR (KIT)

29

707-44-18180

RING,PISTON (KIT)

|29

707-44-18080

RING,PISTON (KIT)

30

707-40-18970

SPACER

31

707-37-18020

PISTON

32

707-71-51361

PLUNGER

|32

707-71-51360

PLUNGER

33

707-40-18910

RETAINER

34

01252-31485

BOLT

35

209-63-72570

TUBE

36

209-62-58410

TUBE

37

07000-13038

O-RING (KIT)

38

01010-51245

BOLT

39

01643-31232

WASHER

40

07000-13038

O-RING

41

07378-11210

HEAD,SLEEVE

42

07371-51260

FLANGE,SPLIT

43

01010-51245

BOLT

44

01643-31232

WASHER

45

707-88-96050

BAND

46

209-62-58560

BRACKET

47

707-88-96061

BAND

48

01010-51240

BOLT

49

01643-31232

WASHER

50

07283-23442

CLIP

51

01599-01011

NUT

52

01643-31032

WASHER

Выбрано товаров: 65