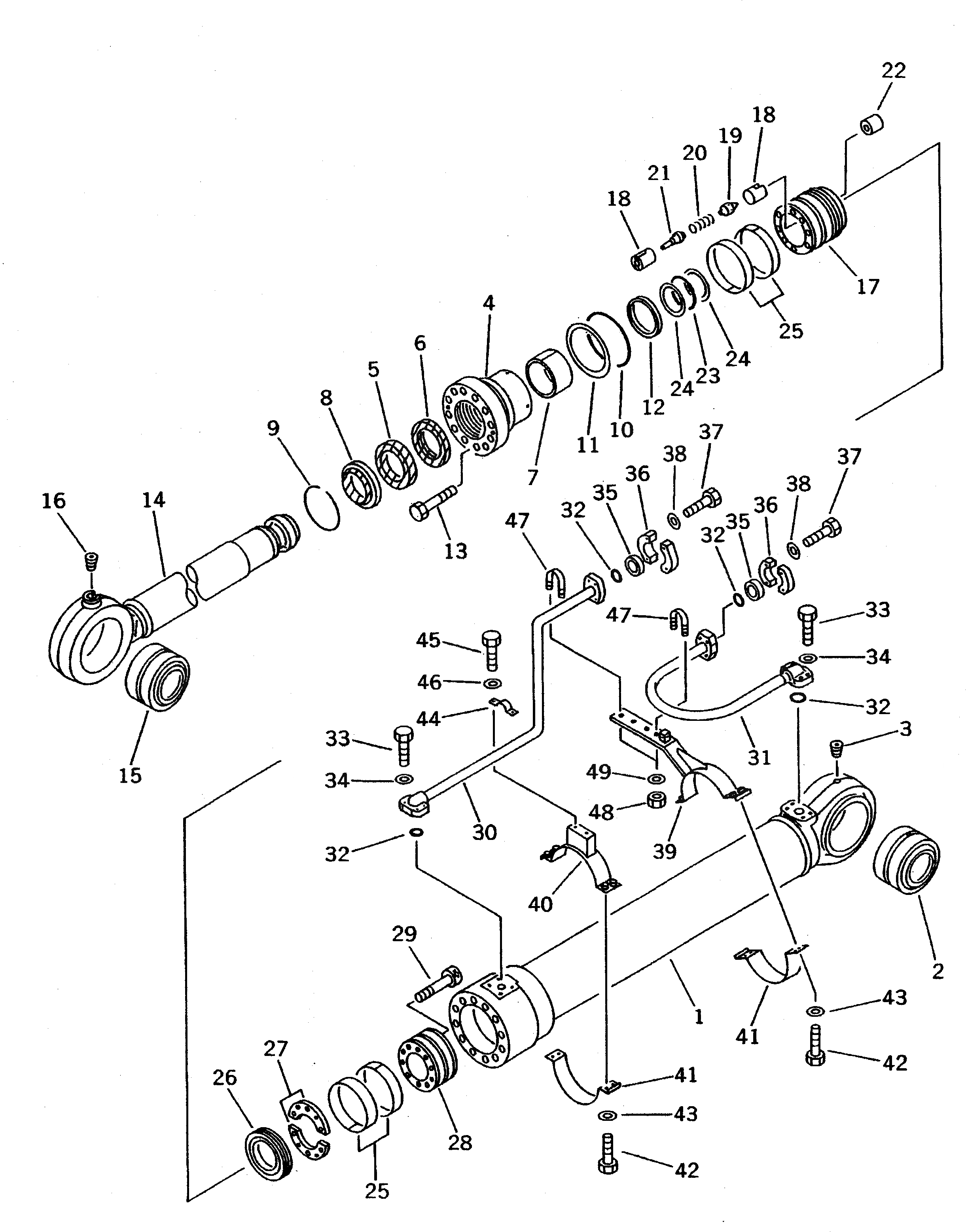
Запчасти Komatsu PC650-3 ЦИЛИНДР КОВША РАБОЧЕЕ ОБОРУДОВАНИЕ (ПОГРУЗ.)

Схема запчастей Komatsu PC650-3 - ЦИЛИНДР КОВША РАБОЧЕЕ ОБОРУДОВАНИЕ (ПОГРУЗ.)
FIT
1:1
100%

Артикул

Название

Примечание

Количество

G-1

209-63-X3041

CYLINDER GROUP,L.H.

G-1

209-63-X3040

CYLINDER GROUP,L.H.

G-1

209-63-X3051

CYLINDER GROUP,R.H.

G-1

209-63-X3050

CYLINDER GROUP,R.H.

|1

209-63-03041

CYLINDER ASS'Y

|1

209-63-03040

CYLINDER ASS'Y

1

209-63-76741

CYLINDER

2

707-46-11510

BUSHING

3

07043-00108

PLUG

4

707-27-18510

HEAD,CYLINDER

5

707-51-13130

PACKING,ROD (KIT)

6

707-51-13630

RING,BUFFER (KIT)

7

707-52-91050

BUSHING

|7

707-52-11310

BUSHING

8

707-56-13520

SEAL,DUST (KIT)

9

07179-14146

RING,SNAP

|9

707-75-13012

RING,SNAP

10

07000-15175

O-RING (KIT)

11

07001-05175

RING,BACK-UP (KIT)

12

707-40-18910

RETAINER

13

01010-52485

BOLT

14

209-63-76722

ROD

15

707-46-11510

BUSHING

16

07043-00108

PLUG

|17

707-91-01832

PISTON SUB ASS'Y

|17

707-91-01831

PISTON SUB ASS'Y

17

PISTON

|17

PISTON

18

SEAT,VALVE

19

VALVE,PISTON

20

SPRING

21

VALVE,PISTON

22

707-71-91410

SPACER

23

07000-12110

O-RING (KIT)

24

707-35-52950

RING,BACK-UP (KIT)

25

707-39-18820

RING,WEAR (KIT)

26

707-44-18180

RING,PISTON (KIT)

|26

707-44-18080

RING,PISTON (KIT)

27

707-40-18970

SPACER

28

707-37-18020

PISTON

29

01252-31485

BOLT

30

209-62-53460

TUBE,L.H.

|30

209-62-53470

TUBE,R.H.

31

209-62-53440

TUBE,L.H.

|31

209-62-53450

TUBE,R.H.

32

07000-13038

O-RING (KIT)

33

01010-51245

BOLT

34

01643-31232

WASHER

35

07378-11210

HEAD,SLEEVE

36

07371-51260

FLANGE,SPLIT

37

01010-51245

BOLT

38

01643-31232

WASHER

39

209-62-53481

BRACKET

40

209-62-53490

BRACKET

41

707-88-96050

BAND

42

01010-51240

BOLT

43

01643-31232

WASHER

44

07282-03411

CLAMP

45

01010-51020

BOLT

46

01643-31032

WASHER

47

07283-23442

CLIP

48

01599-01011

NUT

49

01643-31032

WASHER

Выбрано товаров: 63