Запчасти Komatsu PC650-3 МЕХАНИЗМ ПОВОРОТА (/)(№-8) ПОВОРОТН. СИСТЕМА

Схема запчастей Komatsu PC650-3 - МЕХАНИЗМ ПОВОРОТА (/)(№-8) ПОВОРОТН. СИСТЕМА
FIT
1:1
100%

Артикул

Название

Примечание

Количество

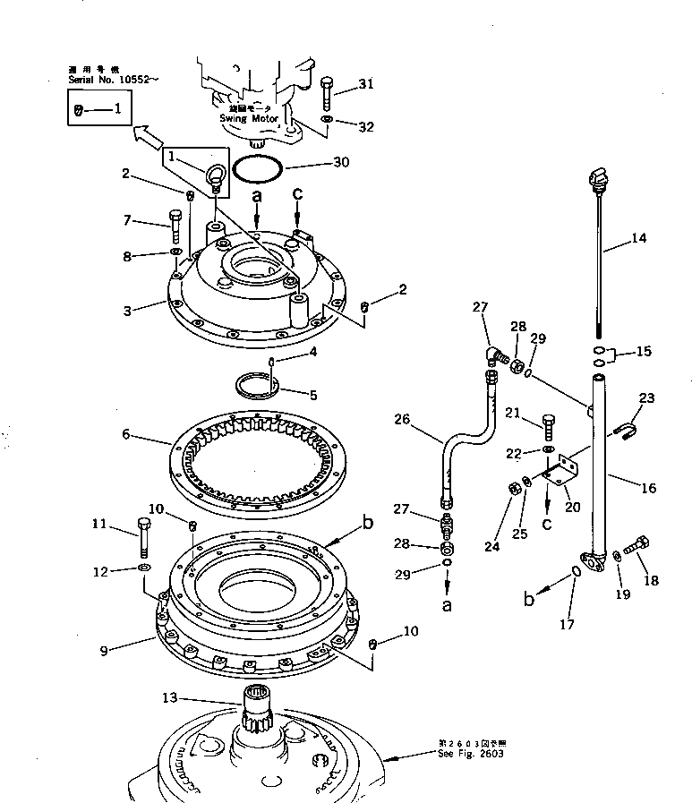
|1

209-26-00020

SWING MACHINERY A.

1

07049-03038

PLUG

|1

04530-13045

BOLT,EYE

2

07049-01215

PLUG

3

209-26-53111

COVER

4

04020-00616

PIN,DOWEL

5

209-26-51230

WASHER,THRUST

6

209-26-51140

GEAR

7

01010-51270

BOLT

8

01643-31232

WASHER

9

209-26-51120

CASE

10

07049-01620

PLUG

11

01011-51620

BOLT

12

01643-31645

WASHER

13

209-26-53162

SHAFT

14

209-26-51260

GAUGE

15

07000-03022

O-RING

16

209-26-51250

TUBE

17

07000-03035

O-RING

18

01010-51445

BOLT

19

01643-31445

WASHER

20

209-26-51271

BRACKET

21

01010-51225

BOLT

22

01643-31232

WASHER

23

07283-23442

CLIP

24

01599-01011

NUT

25

01643-31032

WASHER

26

07102-20304

HOSE

27

07232-20315

ELBOW

28

07239-22009

NUT

29

07002-32034

O-RING

30

07000-05150

O-RING

31

01010-52470

BOLT

32

01643-32460

WASHER

Выбрано товаров: 0