Запчасти Komatsu PC650-3 HIC ТРУБЫ (/) ХОДОВАЯ

Схема запчастей Komatsu PC650-3 - HIC ТРУБЫ (/) ХОДОВАЯ
FIT
1:1
100%

Артикул

Название

Примечание

Количество

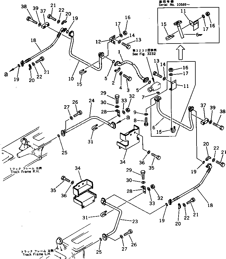
1

07097-20609

HOSE

2

07371-30638

FLANGE,SPLIT

3

01010-50830

BOLT

4

01643-50823

WASHER

5

07000-13025

O-RING

6

209-62-54441

TUBE,L.H.

6

209-62-54440

TUBE,L.H.

7

07000-13030

O-RING

8

01010-50830

BOLT

9

01643-50823

WASHER

10

209-62-54451

TUBE,R.H.

11

209-62-54481

BRACKET

11

209-62-54480

PLATE

12

209-62-54490

PLATE

13

01010-51225

BOLT

14

01643-31232

WASHER

15

07283-32738

CLIP

16

01599-01011

NUT

17

01643-31032

WASHER

18

07097-20609

HOSE

18

07097-20608

HOSE

19

07000-13025

O-RING

20

07371-30638

FLANGE,SPLIT

21

01010-50830

BOLT

22

01643-50823

WASHER

23

209-62-54460

TUBE,L.H.

24

209-62-54470

TUBE,R.H.

25

07000-13030

O-RING

26

01010-50830

BOLT

27

01643-50823

WASHER

28

209-62-54510

PLATE

29

01010-51225

BOLT

30

01643-31232

WASHER

31

07283-32738

CLIP

32

01599-01011

NUT

33

01643-31032

WASHER

34

209-62-54520

COVER

35

01010-51640

BOLT

36

01643-31645

WASHER

37

205-62-68240

CLAMP

38

01010-51260

BOLT

39

01643-31232

WASHER

Выбрано товаров: 42