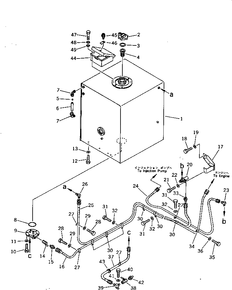
Запчасти Komatsu PC650-3 ТОПЛ. БАК И ТОПЛИВОПРОВОД (ДЛЯ ЗАПЫЛЕНН. РАЙОНОВ) КОМПОНЕНТЫ ДВИГАТЕЛЯ И ЭЛЕКТРИКА

Схема запчастей Komatsu PC650-3 - ТОПЛ. БАК И ТОПЛИВОПРОВОД (ДЛЯ ЗАПЫЛЕНН. РАЙОНОВ) КОМПОНЕНТЫ ДВИГАТЕЛЯ И ЭЛЕКТРИКА
FIT
1:1
100%

Артикул

Название

Примечание

Количество

1

209-04-51310

TANK,FUEL

2

07050-41200

CAP

3

07050-21202

GASKET

4

07056-18416

STRAINER

5

208-04-19160

BALL,FLOAT

6

203-60-31160

TUBE

7

208-04-19130

ELBOW

8

07000-05170

O-RING

9

209-04-11122

FLANGE

10

01010-51235

BOLT

11

01643-31232

WASHER

12

01010-52045

BOLT

13

01643-32060

WASHER

14

07700-40460

VALVE

15

10E-60-16360

NIPPLE

16

07102-20440

HOSE

17

209-04-51122

BRACKET

18

01010-51025

BOLT

19

01643-31032

WASHER

20

07058-20000

FILTER ASS'Y

21

01010-50825

BOLT

22

01643-30823

WASHER

23

195-04-12280

ELBOW

24

07102-20416

HOSE

25

07102-20443

HOSE

26

154-865-1240

ELBOW

27

140-06-18440

CLIP

28

01010-51225

BOLT

29

01643-31232

WASHER

30

209-04-51130

CLIP

31

01010-51225

BOLT

32

01643-31232

WASHER

33

10E-60-16360

NIPPLE

34

08036-01814

CLIP

35

01010-51225

BOLT

36

01643-31232

WASHER

37

07102-20411

HOSE

38

07700-40460

VALVE

39

209-04-51140

ELBOW

40

01010-51225

BOLT

41

01643-31232

WASHER

42

154-04-12480

NIPPLE

43

08037-03614

GROMMET

44

209-04-51320

COVER

45

205-60-71220

LOCK ASS'Y

46

205-54-76280

ROTOR ASS'Y

47

01010-51016

BOLT

48

01643-31032

WASHER

49

01643-31232

WASHER

Выбрано товаров: 49