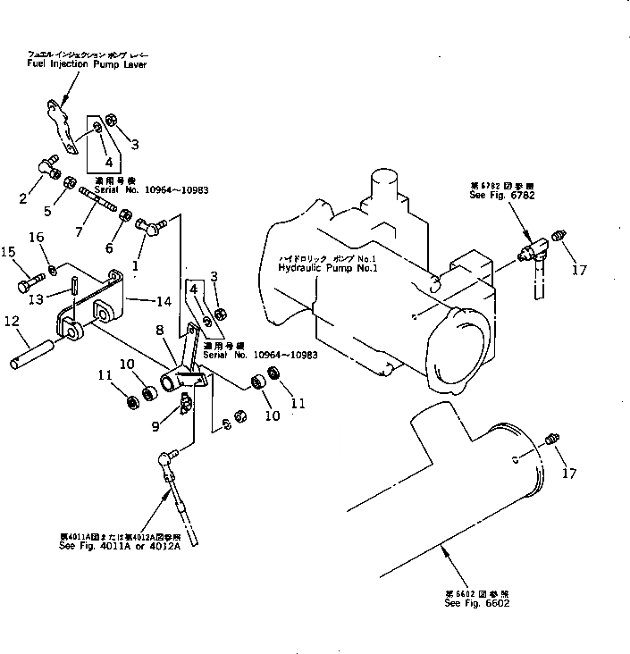
Запчасти Komatsu PC650-3 РЫЧАГ УПРАВЛ-Я ПОДАЧЕЙ ТОПЛИВА (/) (БЕЗ АВТОМ. ЗАМЕДЛЕНИЕ ОБОРОТОВ)(№9-) СИСТЕМА УПРАВЛЕНИЯ И ОСНОВНАЯ РАМА

Схема запчастей Komatsu PC650-3 - РЫЧАГ УПРАВЛ-Я ПОДАЧЕЙ ТОПЛИВА (/) (БЕЗ АВТОМ. ЗАМЕДЛЕНИЕ ОБОРОТОВ)(№9-) СИСТЕМА УПРАВЛЕНИЯ И ОСНОВНАЯ РАМА
FIT
1:1
100%

Артикул

Название

Примечание

Количество

1

04256-50816

JOINT

2

04256-40816

JOINT

3

01580-10806

NUT

4

01602-20825

WASHER,SPRING

5

01580-10806

NUT

6

01508-40805

NUT

7

04248-50810

ROD

8

209-43-51980

LEVER

9

07020-00675

FITTING,GREASE

10

06120-01816

BEARING

11

06122-01803

SEAL

12

21T-43-71920

SHAFT

13

04025-00532

PIN

14

21T-43-71870

BRACKET

15

01010-51025

BOLT

16

01643-31032

WASHER

17

07042-30211

PLUG

Выбрано товаров: 17