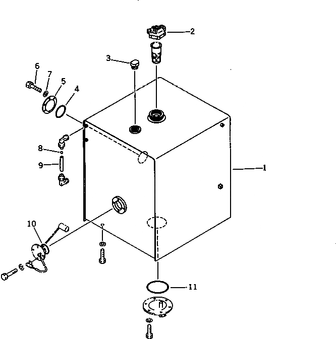
Запчасти Komatsu PC650-3 ТОПЛИВН. БАК. (ДЛЯ WIGGINS ТОПЛИВН. БЫСТР. ЗАПРАВ. КОМПЛЕКТ) КОМПОНЕНТЫ ДВИГАТЕЛЯ И ЭЛЕКТРИКА

Схема запчастей Komatsu PC650-3 - ТОПЛИВН. БАК. (ДЛЯ WIGGINS ТОПЛИВН. БЫСТР. ЗАПРАВ. КОМПЛЕКТ) КОМПОНЕНТЫ ДВИГАТЕЛЯ И ЭЛЕКТРИКА
FIT
1:1
100%

Артикул

Название

Примечание

Количество

|$0

209-04-05000

FUEL TANK ASS'Y

1

209-04-51210

TANK

2

209-04-51220

CAP

3

195-04-14130

PLUG

4

07000-02115

O-RING

5

195-04-14120

PLATE

6

01010-50820

BOLT

7

01602-20825

WASHER,SPRING

8

208-04-19160

BALL,FLOAT

9

203-60-31160

TUBE

10

07000-02085

O-RING

11

07000-05170

O-RING

Выбрано товаров: 12