Запчасти Komatsu PC650-3 KNOB (ДЛЯ ЭКСКАВАТ.) СИСТЕМА УПРАВЛЕНИЯ И ОСНОВНАЯ РАМА
FIT
1:1
100%
№
Артикул
Название
Примечание
Количество
|$0
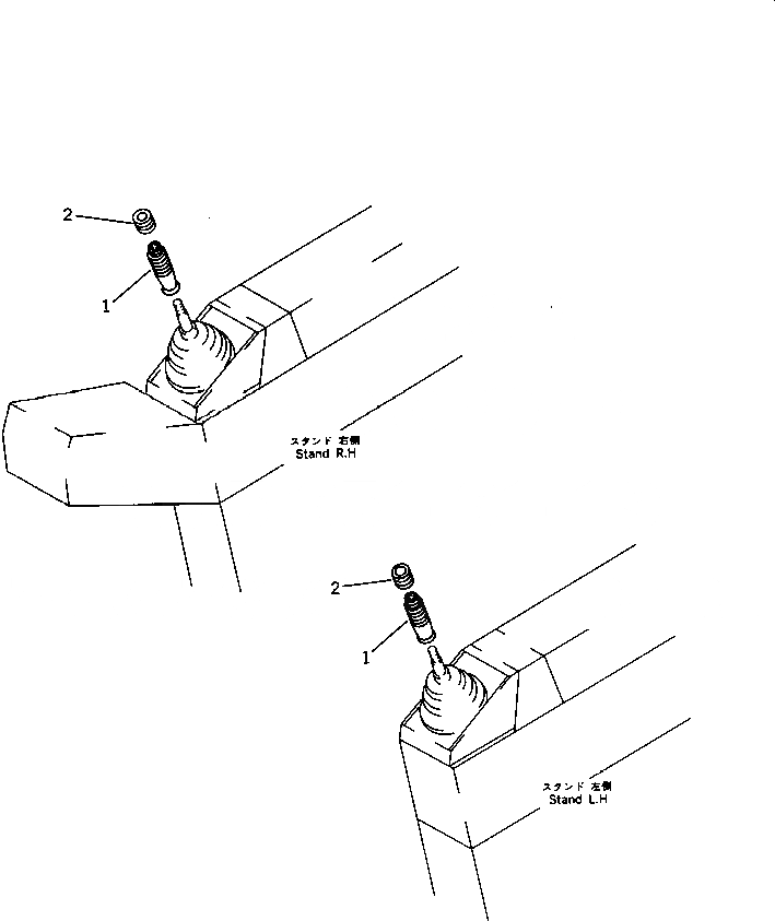
205-43-73600
KNOB ASS'Y
1
205-43-73710
BODY
2
205-43-73680
CAP
Выбрано товаров: 3
№
Артикул
Название
Примечание
Количество
|$0
205-43-73600
KNOB ASS'Y
1
205-43-73710
BODY
2
205-43-73680
CAP
Выбрано товаров: 3