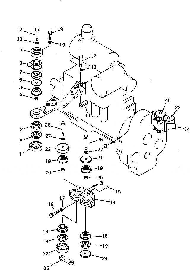
Запчасти Komatsu PC650-3 КРЕПЛЕНИЕ ДВИГАТЕЛЯ КОМПОНЕНТЫ ДВИГАТЕЛЯ И ЭЛЕКТРИКА

Схема запчастей Komatsu PC650-3 - КРЕПЛЕНИЕ ДВИГАТЕЛЯ КОМПОНЕНТЫ ДВИГАТЕЛЯ И ЭЛЕКТРИКА
FIT
1:1
100%

Артикул

Название

Примечание

Количество

1

209-01-51133

STOPPER

1

209-01-51132

STOPPER

1

209-01-51131

STOPPER

2

21T-01-11210

COLLAR

3

21T-01-11150

CUSHION

4

21T-01-11220

COLLAR

5

209-01-51190

STOPPER

6

209-01-51210

SPACER

7

209-01-51220

PLATE

8

209-01-00020

SHIM ASS'Y

8

SHIM, 0.5MM,0.5MM

8

SHIM, 1.0MM,1.0MM

9

01010-51235

BOLT

10

01643-31232

WASHER

11

207-01-14120

PLATE

12

208-01-11181

BOLT

13

01643-32460

WASHER

14

209-01-51111

BRACKET,REAR

14

209-01-51110

BRACKET,REAR

15

04020-01842

PIN,DOWEL

16

01010-52070

BOLT

17

01643-32060

WASHER

17

15R-70-16370

WASHER

18

21T-01-11210

COLLAR

19

21T-01-11150

CUSHION

20

21T-01-11220

COLLAR

21

21T-01-11180

WASHER

22

209-01-51142

STOPPER

22

209-01-51141

STOPPER

23

209-01-51133

STOPPER

23

209-01-51132

STOPPER

23

209-01-51131

STOPPER

24

21T-01-11190

WASHER

25

21T-01-11230

PLATE

26

208-01-11181

BOLT

27

01643-32460

WASHER

Выбрано товаров: 36