Запчасти Komatsu PC650-3 ВЫС. КРЕПЛЕНИЕ КАБИНА (ЗАДН. ОКНА ЖЕСТК.) (/)(№-) ЧАСТИ КОРПУСА

Схема запчастей Komatsu PC650-3 - ВЫС. КРЕПЛЕНИЕ КАБИНА (ЗАДН. ОКНА ЖЕСТК.) (/)(№-) ЧАСТИ КОРПУСА
FIT
1:1
100%

Артикул

Название

Примечание

Количество

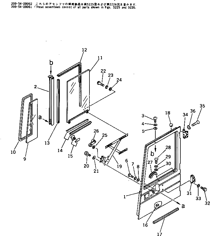
|$0

209-54-00131

OPERATOR'S CAB ASS'Y

|$1

209-54-00130

OPERATOR'S CAB ASS'Y

|$3

21N-54-00024

DOOR ASS'Y

|$4

21N-54-00021

DOOR ASS'Y

|$5

21N-54-00020

DOOR ASS'Y

|$6

209-54-00030

DOOR ASS'Y

1

21N-54-13120

DOOR

1

209-54-51150

DOOR

2

205-54-71651

DEVISION BAR ASS'Y

3

01220-40410

SCREW

4

01601-20410

WASHER,SPRING

5

01641-20405

WASHER

6

01220-40610

SCREW

7

01602-20619

WASHER,SPRING

8

01641-20608

WASHER

9

205-54-71252

GLASS

10

205-54-71592

STRIP,WEATHER

11

205-54-72252

GLASS ASS'Y

12

205-54-71571

SEAL

13

205-54-72231

SEAL

14

205-54-71581

SEAL

15

205-54-72740

CLIP

16

205-54-71910

STOPPER

17

205-54-72210

SHEET

18

205-54-71611

CAP

19

205-54-71632

REGULATOR ASS'Y

19

9\9205-54-71631

REGULATOR ASS'Y

20

01010-50610

BOLT

21

01643-30623

WASHER

22

01220-40608

SCREW

23

01602-20619

WASHER,SPRING

24

01641-20608

WASHER

25

566-54-24270

ESCUTCHEON

26

205-54-71970

HANDLE

27

205-54-72220

HANDLE

28

01220-40610

SCREW

29

01602-20619

WASHER,SPRING

30

01641-20608

WASHER

31

205-54-72691

BRACKET

32

01010-50820

BOLT

33

01643-30823

WASHER

34

205-54-72760

HINGE ASS'Y

35

01224-40830

SCREW

36

205-54-72750

WASHER,LOCK

Выбрано товаров: 44