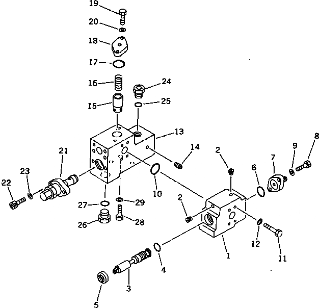
Запчасти Komatsu PC650-3 БЕЗОПАСН. СТОПОРН. КЛАПАН УПРАВЛ-Е РАБОЧИМ ОБОРУДОВАНИЕМ

Схема запчастей Komatsu PC650-3 - БЕЗОПАСН. СТОПОРН. КЛАПАН УПРАВЛ-Е РАБОЧИМ ОБОРУДОВАНИЕМ
FIT
1:1
100%

Артикул

Название

Примечание

Количество

|$0

209-60-52601

VALVE ASS'Y

|$1

209-60-52600

VALVE ASS'Y

1

BODY

1

BODY

2

07043-70108

PLUG

3

SPOOL

3

SPOOL

4

07000-03025

O-RING

5

07016-00256

SEAL

6

07000-03035

O-RING

7

209-60-52630

FLANGE

8

01010-51030

BOLT

9

01643-31032

WASHER

10

07000-03035

O-RING

11

01010-51080

BOLT

12

01643-31032

WASHER

13

209-62-57420

BLOCK

14

07042-30108

PLUG

15

07750-03048

VALVE

15

701-30-67121

VALVE

16

07750-03056

SPRING

16

701-30-67130

SPRING

17

07000-03035

O-RING

18

209-60-52640

FLANGE

19

01010-51030

BOLT

20

01643-31032

WASHER

21

700-70-98000

RELIEF VALVE ASS'Y

22

01252-41030

BOLT

23

01643-51032

WASHER

24

07040-12414

PLUG

25

07002-02434

O-RING

26

07040-13316

PLUG

27

07002-03334

O-RING

28

01010-51225

BOLT

29

01643-31232

WASHER

Выбрано товаров: 0