Запчасти Komatsu PC650-3 ПОВОРОТН. SHADOW КЛАПАН (С FREE ПОВОРОТН.) (КРОМЕ ЯПОН.) УПРАВЛ-Е РАБОЧИМ ОБОРУДОВАНИЕМ

Схема запчастей Komatsu PC650-3 - ПОВОРОТН. SHADOW КЛАПАН (С FREE ПОВОРОТН.) (КРОМЕ ЯПОН.) УПРАВЛ-Е РАБОЧИМ ОБОРУДОВАНИЕМ
FIT
1:1
100%

Артикул

Название

Примечание

Количество

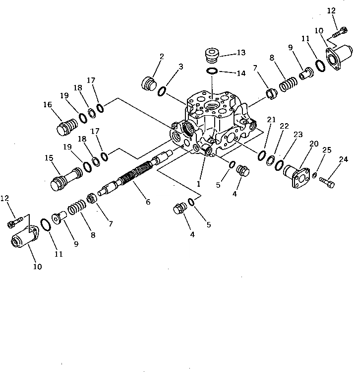
G-1

209-60-X2000

FREE SWING GROUP

|$2

700-91-37001

VALVE ASS'Y

1

BODY

2

07040-13618

PLUG

3

07002-13634

O-RING

4

700-22-11370

PLUG

5

07002-02434

O-RING

6

SPOOL

7

709-94-91130

RETAINER

8

709-94-91120

SPRING

9

709-94-91170

RETAINER

10

709-94-91720

CASE

11

07430-71380

O-RING

12

01252-30820

BOLT

13

700-93-11380

PLUG

14

07002-13634

O-RING

15

700-93-11310

PLUG

16

700-93-11350

PLUG

17

700-93-11320

O-RING

18

700-93-11330

RING,BACK-UP

19

07002-03634

O-RING

20

700-93-11340

FLANGE

21

07000-13032

O-RING

22

07001-03032

RING,BACK-UP

23

07000-03035

O-RING

24

01010-51025

BOLT

25

01640-21016

WASHER

Выбрано товаров: 27