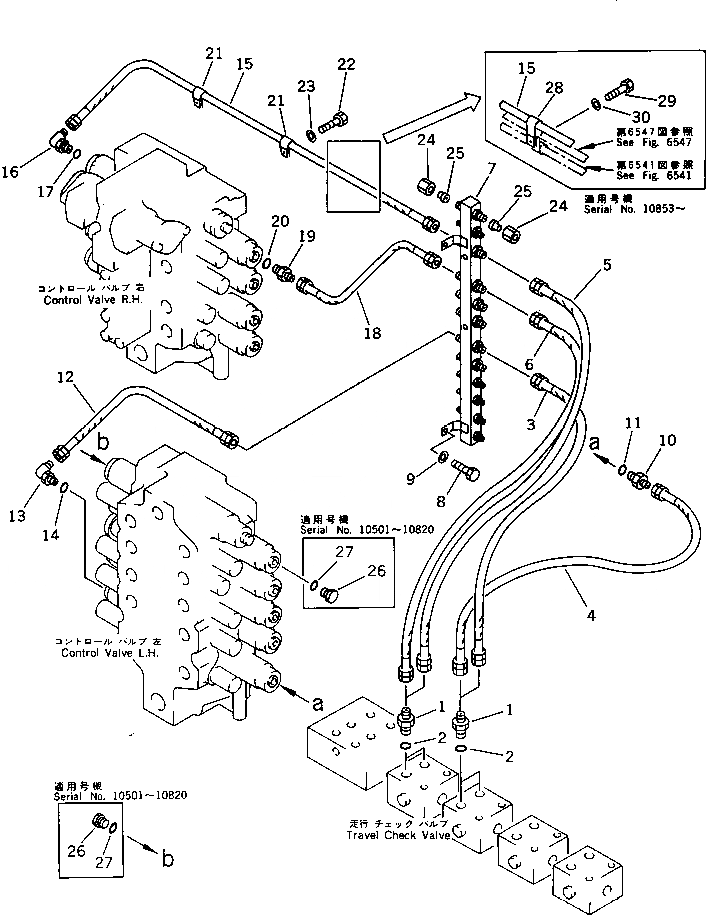
Запчасти Komatsu PC650-3 PPC КОНТРОЛЬНЫЙ КЛАПАНTO/FROM УПРАВЛЯЮЩ. КЛАПАН ТРУБЫ УПРАВЛ-Е РАБОЧИМ ОБОРУДОВАНИЕМ

Схема запчастей Komatsu PC650-3 - PPC КОНТРОЛЬНЫЙ КЛАПАНTO/FROM УПРАВЛЯЮЩ. КЛАПАН ТРУБЫ УПРАВЛ-Е РАБОЧИМ ОБОРУДОВАНИЕМ
FIT
1:1
100%

Артикул

Название

Примечание

Количество

1

07230-20315

UNION

1

07230-10315

UNION

2

07002-02034

O-RING

3

07102-20312

HOSE

4

07102-20308

HOSE

5

07102-20312

HOSE

6

07102-20312

HOSE

7

209-62-57181

JOINT

8

01010-51230

BOLT

9

01643-31232

WASHER

10

07230-20315

UNION

10

07230-10315

UNION

11

07002-02034

O-RING

12

07102-20308

HOSE

13

07235-10315

ELBOW

14

07002-02034

O-RING

15

07102-20313

HOSE

16

07235-10315

ELBOW

17

07002-02034

O-RING

18

07102-20305

HOSE

19

07230-20315

UNION

19

07230-10315

UNION

20

07002-02034

O-RING

21

08036-01814

CLIP

22

01010-51220

BOLT

23

01643-31232

WASHER

24

07221-20315

NUT

25

07222-00312

PLUG

26

07040-12012

PLUG

27

07002-02034

O-RING

28

101-04-12250

CLIP ASS'Y

29

01010-51220

BOLT

30

01643-31232

WASHER

Выбрано товаров: 33