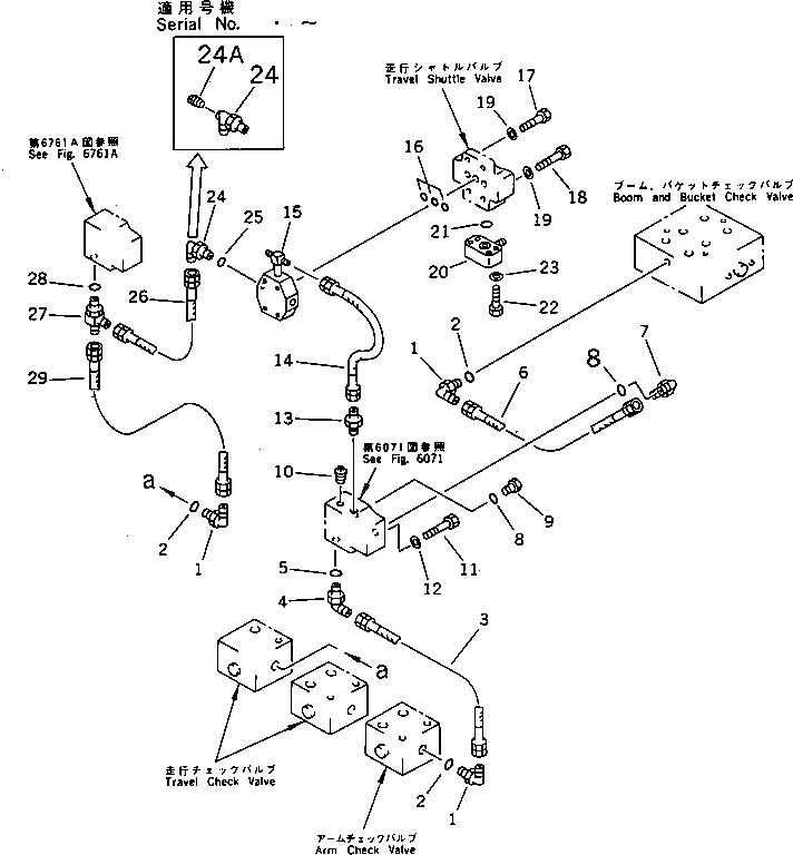
Запчасти Komatsu PC650-3 ПРЯМ. ГИДРОЛИНИЯ ХОДА(/) (АВТОМ. ЗАМЕДЛЕНИЕ ОБОРОТОВ)(ДЛЯ ПОГРУЗ.)(№9-) УПРАВЛ-Е РАБОЧИМ ОБОРУДОВАНИЕМ

Схема запчастей Komatsu PC650-3 - ПРЯМ. ГИДРОЛИНИЯ ХОДА(/) (АВТОМ. ЗАМЕДЛЕНИЕ ОБОРОТОВ) (ДЛЯ ПОГРУЗ.)(№9-) УПРАВЛ-Е РАБОЧИМ ОБОРУДОВАНИЕМ
FIT
1:1
100%

Артикул

Название

Примечание

Количество

1

20N-63-66190

ELBOW

2

07002-02034

O-RING

3

07102-20204

HOSE

3

07102-20203

HOSE

4

07236-10210

ELBOW

4

07235-10210

ELBOW

5

07002-01423

O-RING

6

07102-20205

HOSE

7

07235-10210

ELBOW

8

07002-01423

O-RING

9

07040-11409

PLUG

10

07042-10211

PLUG

11

01010-50860

BOLT

12

01643-30823

WASHER

13

208-06-11220

NIPPLE

14

07102-20203

HOSE

15

209-62-57120

TUBE

16

07000-02010

O-RING

17

01010-50855

BOLT

18

01010-50880

BOLT

19

01643-30823

WASHER

20

209-62-57111

TUBE

21

07000-02016

O-RING

22

01010-50840

BOLT

23

01643-30823

WASHER

24

07235-50210

ELBOW

24

07235-10210

ELBOW

24A

07042-30108

PLUG

25

07002-01423

O-RING

G-1

209-43-X1000

AUTO DECELERATION G.

26

07102-20203

HOSE

27

208-62-17550

TEE

28

07002-01423

O-RING

29

07102-20205

HOSE

Выбрано товаров: 0